РАСЧЁТ ПОТЕРЬ НАПРЯЖЕНИЯ В КАБЕЛЕ.
Расчёт потерь напряжения в кабеле можно осуществить по следующей формуле:
ΔU=I*RL
Где ΔU – потери напряжения в линии,
I – ток потребления (определяется главным образом характеристиками потребителя),
RL — сопротивление кабеля (зависит от длины кабеля и площади сечения кабеля).
Потери мощности в кабеле в кабеле зависит так же главным образом от сопротивления кабеля. Излишнее рассеивание энергии в кабеле может привести к существенным потерям электроэнергии. Излишки тепла идут на нагрев кабеля, поэтому при больших нагрузках неправильный расчет потерь электроэнергии в кабеле может привести к сильному нагреву кабеля и повреждению изоляции, что небезопасно для жизни людей. Так же при существенной длине линии это может привести к повышенному расходу электроэнергии, что при длительной эксплуатации может сказаться на расходах на электроэнергию. Неправильный расчёт потерь напряжения в кабеле может вызвать некорректную работу оборудования при передаче сигнала (например, периметральная система сигнализации). Кроме того, расчёт потерь напряжения в кабеле очень важен, если питание оборудования осуществляется от источника с низким напряжением питания (12-48 В постоянного или переменного тока). В этом случае, если длина провода и мощность нагрузки слишком велика, напряжение может упасть до уровня ниже номинальной потребляемой мощности устройства. Это приведет к тому, что устройство не будет работать.
Результат понижения напряжения


Распространено явление, когда входное напряжение определяется ниже установленной нормы. Проседание по длине кабеля возникает по причине прохождения высокого тока, который вызывает увеличение сопротивления. Также потери возрастают на линиях большой протяженности, что характерно для сельской местности.
Согласно нормативам, потери от трансформатора до самого удаленного участка должны составлять не более 9%. Результат отклонения параметров от нормы может быть следующим:
- сбой работы энергозависимых установок и оборудования, осветительных приборов;
- выход электроприборов из строя при низких показателях напряжения на входе;
- снижение вращающего момента при пуске электродвигателя или компрессорной установки;
- пусковой ток приводит к перегреву и отключению двигателя;
- неравномерная токовая нагрузка в начале линии и на удаленном конце;
- осветительные приборы работают вполнакала;
- потери электроэнергии, недоиспользование мощности тока.
Изменяются характеристики и параметры эксплуатации электрических приборов. Например, из-за слабой мощности увеличивается время нагрева воды бойлером. Снижение напряжения приводит к сбоям в электронике.
В рабочем режиме потери напряжения в кабеле могут быть до 5%. Это значение допустимо для сетей энергетической отрасли, так как токи большой мощности доставляются на дальние расстояния. К таким линиям предъявляются повышенные требования. Поэтому при потерях в быту следует уделить внимание вторичным сетям распределения энергии.
Потенциал
Напряженность электрического поля характеризует его силовые свойства. Для количественной характеристики энергетических возможностей поля было введено понятие потенциала. Потенциал электростатического поля φ — это отношение потенциальной энергии Wp заряда в поле к величине заряда q:
$ φ = {Wpover {q * U}} $ (3).
Тогда напряжение между двумя точками электрической цепи (1-ой и 2-ой) можно выразить так:
$ U = φ_1 – φ_2 $ (4).
То есть становится более понятным физический смысл величины напряжения — это разность потенциалов в начальной точке 1 и конечной точке 2.
Для понимания смыслового значения напряжения можно воспользоваться аналогией с гравитационным полем, которое тоже является потенциальным. Масса тела m аналогична величине заряда q, а высота h, с которой может упасть, например, камень или поток воды, вращающий турбину, аналогична напряжению U. Напомним выражение для потенциальной энергии тела массы m в гравитационном поле Земли:
$ Е_p = m * g * h $ (5),
где: g — ускорение свободного падения, 9,8 м/с2. Видно, что формулы (2) и (4), полученные для разных потенциальных полей, очень похожи.
Способы уменьшения потерь в электрических сетях
Пользователь сети не может повлиять на потери в ЛЭП, но может снизить падение напряжения на участке цепи, грамотно подключив ее элементы.
Медный кабель лучше соединять с медным, а алюминиевый — с алюминиевым. Количество соединений проводов, где материал жилы изменяется, лучше свести к минимуму, так как в таких местах не только рассеивается энергия, но и увеличивается тепловыделение, что при недостаточном уровне теплозоляции может быть пожароопасным. Учитывая показатели удельной проводимости и удельного сопротивления меди и алюминия, более эффективно в плане энергозатрат использовать медь.
Если это возможно, при планировании электрической цепи любые индуктивные элементы, такие как катушки (L), трансформаторы и электродвигатели, лучше подключать параллельно, так как согласно законам физики, общая индуктивность такой схемы снижается, а при последовательном подключении, наоборот, увеличивается.
Еще для сглаживания реактивной составляющей используют конденсаторные установки (или RC-фильтры в совокупности с резисторами).


В зависимости от принципа подключения конденсаторов и потребителя имеется несколько типов компенсации: личная, групповая и общая.
- При личной компенсации емкости присоединяют непосредственно к месту появления реактивной мощности, то есть собственный конденсатор — к асинхронному мотору, еще один — к газоразрядной лампе, еще один — к сварочному, еще один — для трансформатора и т.д. В этой точке приходящие кабели разгружаются от реактивных токов к отдельному пользователю.
- Групповая компенсация включает в себя присоединение одного или нескольких конденсаторов к нескольким элементам с большими индуктивными характеристиками. В данной ситуации регулярная одновременная деятельность нескольких потребителей связана с передачей суммарной реактивной энергии между нагрузками и конденсаторами. Линия, которая подводит электрическую энергию к группе нагрузок, разгрузится.
- Общая компенсация предусматривает вставку конденсаторов с регулятором в основном щите, или ГРЩ. Он производит оценку по факту текущего потребления реактивной мощности и быстро подсоединяет и отсоединяет нужное число конденсаторов. В результате берущаяся от сети общая мощность приводится к минимуму в согласии с моментальной величиной необходимой реактивной мощности.
- Все установки компенсации реактивной мощности включают в себя пару ветвей конденсаторов, пару ступеней, которые образуются специально для электрической сети в зависимости от потенциальных нагрузок. Типичные габариты ступеней: 5; 10; 20; 30; 50; 7,5; 12,5; 25 квар.
Для приобретения больших ступеней (100 и больше квар) соединяют параллельно небольшие. Нагрузки на сети уменьшаются, токи включения и их помехи снижаются. В сетях с множеством высоких гармоник сетевого напряжения конденсаторы защищают дросселями.


Автоматические компенсаторы обеспечивают сети, снабженной ими, такие преимущества:
- уменьшают загрузку трансформаторов;
- делают более простыми требования к сечению кабелей;
- дают возможность загрузить электросети больше, чем можно без компенсации;
- ликвидируют причины уменьшения напряжения сети, даже когда нагрузка подсоединена протяженными кабелями;
- увеличивают КПД мобильных генераторов на топливе;
- упрощают запуск электрических двигателей;
- увеличивают косинус фи;
- ликвидируют реактивную мощность из контуров;
- защищают от перенапряжений;
- совершенствуют регулировку характеристик сетей.
Как уменьшить падение напряжения и снизить потери в кабеле
Можно снизить количество потерь, уменьшив сопротивление на всем участке электросети. Экономию дает способ повторного заземления нуля на каждой опоре линии электропередач.
Стоимость электроснабжения линией большой протяженности, выбранной по допустимому падению напряжения, больше выбора, выполненного по нагреву кабеля. Все же есть возможность снизить эти расходы.
- Усилить начальный потенциал питающего кабеля, подключив его к отдельному трансформатору.
- Добиться постоянных величин напряжения в сети можно с помощью установки стабилизатора возле нагрузки.
- Подключение потребителей с низкими нагрузками 12–36 В выполняют через трансформатор или блок питания.
Чем длиннее кабель линии электропередач, тем большее сопротивление возникает при прохождении по нему тока. Очевидно, что потери напряжения также выше. Снизить их можно, комбинируя способы между собой.
- Снизить расходы увеличением сечения питающего кабеля. Но этот метод потребует больших финансовых вложений.
- При разработке линий энергоснабжения следует выбирать максимально короткий путь, так как прямая линия всегда короче ломаной.
- При снижении температуры сопротивление металлов уменьшается. Вентилируемые кабельные лотки и другие конструкции снижают потери в линии.
- Уменьшение нагрузки возможно, если есть много источников питания и потребителей.
Экономию дает должное содержание и профилактика электросетей – проверка плотности и прочности контактов, использование надежных клеммников.
Подходить к вопросу сохранения энергии нужно с полной ответственностью. Проблема потери напряжения может вывести из строя дорогостоящие приборы, инструменты. Не стоит пренебрегать мерами безопасности, они будут нивелировать скачки напряжения и защищать бытовую технику и оборудование на предприятии.
Базовые формулы определения напряжения
Для расчёта напряжения и сопротивления в цепи используются формулы или готовые онлайн калькуляторы.
Через силу тока и сопротивление
| Значение | Формула |
| Базовый расчёт напряжения на участке цепи | U=I/R, где I — сила тока в Амперах, а R — сопротивление в Омах |
| Определение напряжения в цепи переменного тока | U=I/Z, где Z — сопротивление в Омах, измеренное по всей протяженности цепи |
Закон Ома имеет исключения для применения:
- При прохождении токов высокой частоты происходит быстрое изменение электромагнитных полей. При расчёте высокочастотных цепей следует учитывать инерцию частиц, которые переносят заряд.
- При работе цепей в условиях низких температур (вблизи абсолютного нуля) у веществ может возникать свойство сверхпроводимости.
- Нагретый проходящими токами проводник является причиной возникновения переменного сопротивления.
- При нахождении под воздействием высокого напряжения проводников или диэлектриков.
- Во время процессов, проходящих в устройствах на основе полупроводников.
- При работе светодиодов.
Через мощность и силу тока
При известной мощности потребителей и силе тока напряжение высчитывается по формуле U=P/I, где P — мощность в Ваттах, а I — сила тока в Амперах.
При расчётах в цепях переменного тока используется формула иного вида: U=(P/I)*cosφ, где cosφ — коэффициент мощности, зависит от характера нагрузки.
При использовании приборов с активной нагрузкой (лампы накаливания, приборы с нагревательными спиралями и элементами) коэффициент приближается к единице. При расчётах учитывается возможность наличия реактивного компонента при работе устройств и значение cosφ считается равным 0,95. При использовании устройств с реактивной составляющей (электрические двигатели, трансформаторы) принято считать cosφ равным 0,8.
Для проверки расчётов рекомендуется сравнивать результат со стандартным напряжением, которое равняется 220 Вольт для однофазной сети и 380 Вольт — для трёхфазной.
Через работу и заряд
Методика расчёта используется в лабораторных задачах и на практике не применяется.
Формула имеет аналогичный закону Ома вид: U=A/q, где A — выполненная работа по перемещению заряда в Джоулях, а q — прошедший заряд, измеренный в Кулонах.
Расчёт сопротивления
При работе проводник создает препятствие течению электрического тока, которое называется сопротивлением. При электротехнических расчетах применяется понятие удельного сопротивления, которое измеряется в Ом*м.
| Значение | Формула |
| Расчет сопротивления одного элемента | R=U/I, где U — напряжение в Вольтах, а I — сила тока в Амперах |
| Расчет для однородного проводника | R=(ρ*l)/S, где ρ — значение удельного сопротивления (Ом*м, берётся из таблиц значений), l — длина отрезка проводника (метры), а S — площадь поперечного сечения (м2) |
Последовательное подключение
При последовательном соединении выход элемента связан со входом следующего. Общее сопротивление находится при помощи расчётной формулы: R=R1+R2+…+Rn, где R=R1+R2+…+Rn — значения сопротивления элементов в Омах.
Параллельное подключение
Параллельным называется соединение, при котором оба вывода одного элемента цепи соединены с соответствующими контактами другого. Для параллельного подключения характерно одинаковое напряжение на элементах. Ток на каждом элементе будет пропорционален сопротивлению.
Общее сопротивление высчитывается по формуле: 1/R=1/R1+1/R2+…+1/Rn.
В реальных схемах электропроводки применяется смешанное соединение. Для расчёта сопротивления следует упростить схему, просуммировав сопротивления в каждой последовательной цепи. Затем схему уменьшают путём расчёта отдельных участков параллельного соединения.
Основные понятия


Вольтметр
Падение напряжения – это величина, отраженная в изменении потенциала в разных частях проводника. Протекающий от источника по направлению к нагрузке ток меняет свои параметры в силу сопротивления проводов, но его направление остается неизменным. Измерить напряжение можно с помощью вольтметра:
- двумя приборами в начале и конце линии;
- поочередное измерение в нескольких местах;
- вольтметром, подключенным параллельно кабелю.
Простейшая цепь – источник питания, проводник, нагрузка. Примером может быть лампа накаливания, включенная в розетку 220 В. Если замерить прибором напряжение на лампе, оно будет немного ниже. Падение возникло на сопротивлении лампы.
Напряжение или падение напряжения на участке цепи можно вычислять, применяя закон Ома, по формуле U = IR, где:
- U – электрическое напряжение (вольт);
- I – сила тока в проводнике (ампер);
- R – сопротивление цепи или ее элементов (ом).
Зная две любые величины, можно вычислить третью. При этом нужно учитывать род тока – переменный или постоянный. Если в цепи несколько параллельно подключенных сопротивлений, расчет несколько усложняется.
Расчетная проверка сечений жил кабелей на потерю напряжения.
Сечение кабелей и проводов, выбранное из условий нагрева и согласованное с коммутационными возможностями аппаратов защиты, нужно проверять на относительную линейную потерю напряжения.
где U — напряжение источника электрической энергии, Uном — напряжение в месте присоединения приемника.
Допустимое отклонение напряжения на зажимах двигателей от номинального не должно превышать ±5 %, а в отдельных случаях оно может достигать +10 %.
В осветительных сетях снижение напряжения у наиболее удаленных ламп внутреннего рабочего освещения и прожекторных установок наружного освещения не должно превышать 2,5 % номинального напряжения ламп, у ламп наружного и аварийного освещения — 5 %, а в сетях напряжением 12.,.42 В — 10 %. Большее снижение напряжения приводит к существенному уменьшению освещенности рабочих мест, вызывает снижение производительности труда и может привести к условиям, при которых зажигание газоразрядных ламп не гарантировано. Наибольшее напряжение на лампах, как правило, не должно превышать 105 % его номинального значения.
Повышение напряжения сетей внутреннего электроснабжения выше предусмотренного нормами не допустимо, так как оно приводит к существенному увеличению расхода электрической энергии, сокращению срока службы силового и осветительного электрооборудования, а иногда к снижению качества выпускаемой продукции.
При проектировании электроснабжения и электрооборудования жилища важна величина действительной части, т.е. потеря напряжения. Проверка выбранных проводников по потере напряжения из условия обеспечения необходимых(регламентированных стандартами) уровней напряжения у самых удаленных от источника питания потребителей осуществляется следующим образом. Выполняется расчет потери напряжения (%) по формулам:-рассотрим для трех фазной сети:
Где
U
н – номинальное напряжение, В (380 В – симметричной трехфазной сети);
R
– активное сопротивление проводника, Ом;
Х – индуктивное сопротивление проводника, Ом;
Сos ϕ– коэффициент мощности нагрузки;
I р max– максимальный расчетный ток нагрузки, А;
ΔU – потеря напряжения, % от номинального.
Без учета индуктивного сопротивления линии на потерю напряжения, как правило, рассчитываются:
-сети постоянного тока;
-линии сети переменного тока, для которых коэффициент мощности Cos ϕ= 1;
-сети, выполненные проводами внутри зданий или кабелями, если их сечения не превосходят табличных значений.
Индуктивным сопротивлением проводников сечением менее 50 мм2 можно пренебречь,т.е. Х
При отсутствии какой-либо другой информации величину Х можно принимать Ом/м.
Активное сопротивление проводников (Ом) определяется по одной из известных формуле,
где ρ– удельное сопротивление проводника, Ом • мм2/ м;
γ– удельная проводимость проводника, м / Ом • мм2;
S – сечение проводника, мм2;
l – длина проводника.
Значение удельного сопротивления и удельной проводимости для:
Медных проводников ρм=0,0189 Ом • мм2/ м;γм= 53 м / Ом • мм2;
-алюминиевых проводниковρа =0,0315 Ом • мм2/ м; γа = 31,7 м / Ом • мм2.
Допустимая величина падения напряжения определяется по формуле:
Где ΔU пд– предельно допустимые потери напряжения в питающей приемник цепи, %;
105-напряжение холостого хода на вторичной стороне питающего трансформатора, %
ΔU тр– падение напряжения в трансформаторе, питающем данный объект, %;
ΔU min д– минимально допустимое напряжение на зажимах электроприемника, %.
Допустимые отклонения напряжения у приемников электроэнергии смотрят в табличных данных. .Затем проверяется выполнение условия:
Для проверки проводников по потере напряжения можно также использовать таблицы удельных потерь напряжения ,которые составлены на основании данных, приведенных в Справочнике по расчету проводов и кабелей и адаптированных к действующим в настоящее время нормам и правилам. В таблицах находят удельные потери напряжения для электропроводок,воздушных и кабельных линий в зависимости от величины коэффициента мощности. Для проводов и кабелей из цветного металла эти потери выражены в процентах на 1 кВт•км в зависимости от напряжения линии. Потеря напряжения в линии при заданном сечении проводов и кабелей из цветных металлов определяется по формуле,
где М
а – сумма произведений активных нагрузок на длины участков линии, кВт•км;
ΔU м.б.
– табличное значение удельной величины потери напряжения в процентах на 1 кВт•км.
Определение сечения проводов по заданной величине потери напряжения производится следующим образом. Определяется расчетное значение
ΔU мб
п о ф о р м у л е :
и по соответствующей таблице подбирается сечение провода с ближайшим меньшим значением у д е л ь н о й п о т е р и н а п р я ж е н и я
Причины падения напряжения


Перекос фаз в трехфазной цепи
Прежде всего нужно разобраться: это вина поставщика электроэнергии или потребителя. Проблемы с сетью возникают по таким причинам:
- износ линий электропередач;
- недостаточная мощность трансформаторов;
- дисбаланс мощности или перекос фаз.
Эти проблемы связаны с поставщиком, самостоятельно их решить невозможно. Чтобы понять, правильно или нет работают высоковольтные линии, придется вызывать представителей энергосбыта. Они сделают замеры и составят заключение.
Удостовериться, что вина падения не связана с поставщиком, можно самостоятельно. Прежде всего, стоит выяснить у соседей, есть ли у них подобные проблемы. Для измерения напряжения в быту подойдет мультиметр. Его стоимость до 1000 рублей. Если прибор на входе в квартиру показывает нормальное напряжение, причину нужно искать в домашней сети.
Падать напряжение может из-за большой протяженности проводки. Когда длина сети превышает 100 метров, а сечение проводников 16 мм, колебания станут регулярными. Чтобы исправить ситуацию, придется менять проводку.
Слабые контакты – это дополнительное сопротивление току. К приборам он доходит в недостаточном количестве. К тому же неисправные контакты могут вызвать замыкание и привести к пожару. Чтобы нормализовать показатели, нужно заменить аварийный участок цепи и подгоревшие контакты.
Виновником может быть неправильное соединение проводов, идущих от ЛЭП к дому. Иногда вопреки требованиям безопасности соединяют медные провода с алюминиевыми или медные проводники соединены вместо клемм скруткой. Клеммы и зажимы изготовлены из некачественных материалов, либо срок их годности вышел.
Возможно, неисправность заключается в самом вводном аппарате. В этом случае его следует заменить.
Как пользоваться таблицей выбора сечения?
Пользоваться таблицей 2 очень просто. Например, нужно запитать некое устройство током 10А и постоянным напряжением 12В. Длина линии — 5 м. На выходе блока питания можем установить напряжение 12,5 В, следовательно, максимальное падение — 0,5В.
В наличии — провод сечением 1,5 квадрата. Что видим из таблицы? На 5 метрах при токе 10 А потеряем 0,1167 В х 5м = 0,58 В. Вроде бы подходит, учитывая, что большинство потребителей терпит отклонение +-10%.
Но. ПрОвода ведь у нас фактически два, плюс и минус, эти два провода образуют кабель, на котором и падает напряжение питания нагрузки. И так как общая длина — 10 метров, то падение будет на самом деле 0,58+0,58=1,16 В.
Иначе говоря, при таком раскладе на выходе БП 12,5 Вольт, а на входе устройства — 11,34. Этот пример актуален для питания светодиодной ленты.
И это — не учитывая переходное сопротивление контактов и неидеальность провода («проба» меди не та, примеси, и т.п.)
Поэтому такой кусок кабеля скорее всего не подойдет, нужен провод сечением 2,5 квадрата. Он даст падение 0,7 В на линии 10 м, что приемлемо.
А если другого провода нет? Есть два пути, чтобы снизить потерю напряжения в проводах.
1. Надо размещать источник питания 12,5 В как можно ближе к нагрузке. Если брать пример выше, 5 метров нас устроит. Так всегда и делают, чтобы сэкономить на проводе.
2. Повышать выходное напряжение источника питания. Это черевато тем, что с уменьшением тока нагрузки напряжение на нагрузке может подняться до недопустимых пределов.
Например, в частном секторе на выходе трансформатора (подстанции) устанавливают 250-260 Вольт, в домах около подстанции лампочки горят как свечи. В смысле, недолго. А жители на окраине района жалуются, что напряжение нестабильное, и опускается до 150-160 Вольт. Потеря 100 Вольт! Умножив на ток, можно вычислить мощность, которая отапливает улицу, и кто за это платит? Мы, графа в квитанции «потери».
Как снизить потери ?
Одним из способов снижения потери напряжения в проводнике, является увеличение его сечения. Помимо этого, рекомендуется сократить его протяженность и удаленность от точки назначения. В некоторых случаях эти способы не всегда можно применить по техническим причинам.В большинстве случаем, сокращение сопротивления позволяет нормализовать работу линии.
Главным недостатком большой площади сечения кабеля, являются существенные материальные затраты в процессе использования. Именно поэтому правильный расчёт и подбор нужного диаметра, позволяют избавиться от этой неприятности. Калькулятор в режиме онлайн применяют для проектов с высоковольтными линиями. Здесь программа помогает правильно рассчитать точные параметры для электрической цепи.
Калькулятор расчета потерь напряжения в электрическом кабеле
Кабельные линии большой протяженности отличаются значительным сопротивлением, которое вносит свои коррективы в работу сети. В зависимости от марки кабеля и других параметров будет отличаться и величина сопротивления. А величина потеть напряжения на кабельной линии прямо пропорциональна этому сопротивлению.
При помощи онлайн калькулятора расчет потерь напряжения в кабеле сводится к таким действиям:
- Укажите длину кабеля в метрах и материал токоведущих жил в соответствующих окошках;
- Сечение проводника в мм²;
- Количество потребляемой электроэнергии в амперах или ваттах (при этом поставьте указатель напротив мощности или силы тока, в зависимости от того, какой параметр вам известен, и какую величину вы будете указывать);
- Проставьте величину напряжения в сети;
- Внесите коэффициент мощности cosφ;
- Укажите температуру кабеля;
После того как вы внесли вышеперечисленных данные в поля калькулятора, нажмите кнопку «вычислить» и в соответствующих графах вы получите результат расчета — величину потерь напряжения в кабеле ΔU в %, сопротивление самого провода Rпр в Ом, реактивную мощность Qпр в ВАр и напряжение на нагрузке Uн.
Для вычисления этих величин вся система, включающая кабель и нагрузку, заменяется на эквивалентную, которую можно представить таким образом:


Как видите на рисунке, в зависимости от типа питания нагрузки (однофазная или трехфазная), сопротивление кабельной линии будет иметь последовательное или параллельное соединение по отношению к нагрузке. Расчет в калькуляторе осуществляется по таким формулам:
- ΔU – потеря напряжения;
- UЛ – линейное напряжение;
- UФ – фазное напряжение;
- I – ток, протекающий в линии;
- ZК – полное сопротивление кабельной линии;
- RК – активное сопротивление кабельной линии;
- XК – реактивное сопротивление кабельной линии.
Из них UЛ, UФ, I, — задаются на этапе введения данных. Для определения полного сопротивления ZК производится арифметическое сложение его активной RК и реактивной XК составляющей. Активное и реактивное сопротивление определяется по формулам:
RК – активное сопротивление кабельной линии, где
ρ – удельное сопротивление для соответствующего металла (медь или алюминий), но величина удельного сопротивления материала величина не постоянная и может изменяться в зависимости от температуры, из-за чего для приведения его к реальным условиям выполняется пересчет по отношению к температуре:
- a – это коэффициент температурного изменения удельного сопротивления материала.
- ρ20 – удельное сопротивление материала при температуре +20ºС.
- t – реальная температура проводника, в данный момент времени.
- l – длина кабельной линии (если нагрузка однофазная, а кабель имеет две жилы, то обе они включены последовательно и длину необходимо умножить на 2)
- S – площадь сечения проводника.
Зная активное сопротивление можно рассчитать реактивное XК, через коэффициент мощности по такой формуле:
Реактивная мощность определяется по такой формуле: Q = S*sin φ, где
Где S – это полная мощность, которую можно определить, как произведение тока в цепи на входное напряжение источника или как отношение активной мощности к коэффициенту мощности.
Для вычисления величины напряжения, приходящейся на нагрузку, производятся такие расчеты: UН = U — ΔU, где
- Где UН – величина напряжения, приложенная к нагрузке;
- U – напряжение на вводе в кабельную линию
- ΔU – падение напряжения в кабельной линии.
Как рассчитать потери


Линейная зависимость между напряжением и током
При расчете электрической линии отклонения напряжений не должны превышать регламентированных норм. Допустимые колебания для бытовых однофазных сетей – 209–231В, для трехфазной сети напряжение может варьироваться от 361 до 399 В.
Колебания силы тока и потребляемой мощности приводит к изменению напряжения в токопроводящих жилах возле потребителя. Поэтому при составлении схемы электропроводки необходимо учитывать допустимые потери.
В однофазной сети идет два провода, поэтому падение напряжения можно найти по следующей формуле: U=I*R, в свою очередь, R=(r*2i)/S.
- где r – удельное сопротивление, которое равно сопротивлению провода, сечением 1 мм2 и длиной 1м;
- i – обозначается как длина проводника;
- S – сечение кабеля.


Программа AutoCad для расчета падения напряжения
В трехфазной сети мощности на фазных проводах компенсируют друг друга, а длина нулевого проводника не учитывается, так как по нему не идет ток. Если нагрузка по фазам неравномерная, расчет выполняют как для однофазной сети. Для линий большой протяженности дополнительно учитывают емкостное и индуктивное сопротивление.
Расчет падения можно выполнять с помощью онлайн-калькулятора, также существуют специальные таблицы. В них показаны допустимые токовые нагрузки для кабелей разных типов. При расчетах сечения кабеля должны учитываться следующие данные:
- материал изготовления проводников;
- скрытая или открытая прокладка линии;
- токовая нагрузка;
- условия окружающей среды.
При протекании тока по кабелю, проводу или шине, происходит их нагревание. Этот процесс изменяет физические свойства проводников. Происходит оплавление изоляции, перегрев контактов, перегорание провода. От правильного подбора кабеля зависит надежность и бесперебойная работа электросети.
Варианты определения ΔU
Метод векторов
В ходе проектирования электрической сети в основе лежит нагрузка, работоспособность которой необходимо обеспечить. Если кабель будет выбран неправильно, ΔU на нем не позволит правильно работать этой нагрузке. Асинхронные двигатели не достигнут заданных оборотов, трансформаторы на вторичных обмотках не обеспечат номинальные напряжения и т.д., и т.п. Для однофазной сети нагрузка разделяется на активную и реактивную составляющие.
Трехфазная сеть представляется как три самостоятельные однофазные сети. Они называются схемами замещения. Этот метод обеспечивает достаточно точные результаты, если нагрузка симметрична. Если симметрия нарушается, то анализ причин, которые этот процесс вызвали, также можно выполнить, используя этот метод. На основании известных величин можно построить векторную диаграмму и, меняя длину векторов соответственно поставленной задаче, определять те величины, которые необходимы.
Схема 1
Например, известны параметры, которые необходимы для нормальной работы нагрузки. Параметры линии также известны. Следовательно, задача сводится к определению векторного напряжения U1. Шаги, приводящие к появлению искомого вектора, показаны далее.
Схема 2
Длина вектора и его направление определяются исходя из закона Ома и направления вектора напряжения, определяющего ток (векторы тока и напряжения по направлению совпадают). Вектор напряжения, который получается как результат сложения активной и реактивной составляющих нагрузки (IR+IХ), – это и есть ΔU в линии, соединяющей источник напряжения U1 с нагрузкой. Из полученных векторов просто получить также и потери напряжения. Для этого векторы U1 и U2 совмещаются так, чтобы направление обоих было таким же, как у вектора U2. Разница между ними в длине – это будут потери напряжения.
Схема падения и потери напряжения Определение ΔU и потерь напряжения
Таблицы Кнорринга
Но заниматься построением векторов довольно-таки нудно. Тем более что за время существования потребности в проектировании электросетей для стандартных ситуаций придуманы решения более быстрые. К ним относятся таблицы Кнорринга. Стандартность ситуации для них состоит в постоянстве напряжения на входе кабеля или иного проводника (переменное напряжение с действующим значением 220 В)
Это важно как для одной фазы, так и для трех фаз. То есть в трехфазной электросети нагрузка должна быть симметричной
Также необходимо располагать величиной сечения токопроводящей жилы (в квадратных миллиметрах), длиной проводника (в метрах) и мощностью в нагрузке (в киловаттах). Получаем произведение мощности на длину, в столбце, начинающемся с подходящего сечения жилы, находим это значение, и в крайнем левом столбце смотрим ΔU на кабеле. Только и всего. Два варианта таблиц для напряжения однофазной и трехфазной электрической сети, а также одна для напряжения 12 В, показанные далее, читатель может использовать для расчетов.
Таблица 1 Таблица 2 Таблица 3
Для всех таблиц принято ограничение – жилы должны быть из меди. Если читателю встретится такое определение, как момент нагрузки, – это как раз и будет число из таблицы Кнорринга для провода, соответствующее произведению мощности на длину.
Точные расчеты по формулам
Если по тем или иным причинам метод векторов и таблицы не устраивают, можно использовать либо формулы, показанные далее, либо калькулятор онлайн, на них основанный. Таких калькуляторов в сети немало, и найти подходящий несложно.
Расчет по формулам ΔU по длине кабеля
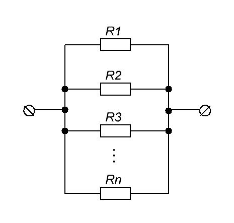
Параллельное соединение проводников
Параллельное соединение проводников выглядит вот так.


параллельное соединение резисторов
Ну что, думаю, начнем с сопротивления.
Сопротивление при параллельном соединении проводников
Давайте пометим клеммы как А и В


В этом случае общее сопротивление RAB будет находиться по формуле


Если же мы имеем только два параллельно соединенных проводника


То в этом случае можно упростить длинную неудобную формулу и она примет вид такой вид.
Напряжение при параллельном соединении проводников
Здесь, думаю ничего гадать не надо. Так как все проводники соединяются параллельно, то и напряжение у всех будет одинаково.
Получается, что напряжение на R1 будет такое же как и на R2, как и на R3, так и на Rn
Проверка кабеля по потере напряжения
Всем известно, что протекание электрического тока по проводу или кабелю с определенным сопротивлением всегда связано с потерей напряжения в этом проводнике.
Согласно правилам Речного регистра, общая потеря электронапряжения в главном распределительном щите до всех потребителей не должна превышать следующие значения:
- при освещении и сигнализации при напряжении более 50 вольт – 5 %;
- при освещении и сигнализации при напряжении 50 вольт – 10 %;
- при силовых потреблениях, нагревательных и отопительных систем вне зависимости от электронапряжения – 7 %;
- при силовых потреблениях с кратковременным и повторно-кратковременным режимами работы вне зависимости от электронапряжения – 10 %;
- при пуске двигателей – 25 %;
- при питании щита радиостанции или другого радиооборудования или при зарядке аккумуляторов – 5 %;
- при подаче электричества в генераторы и распределительный щит – 1 %.
Исходя из этого и выбирают различные типы кабелей, способных поддерживать такую потерю напряжения.































