Однофазный асинхронный электродвигатель — это
асинхронный электродвигатель
, который работает от электрической сети однофазного переменного тока без использования частотного преобразователя и который в основном режиме работы (после пуска) использует только одну обмотку (фазу) статора.
Принцип действия и схема запуска


Принцип работы:
- Электрическим током порождается пульсирующее магнитное поле на статоре мотора. Это поле можно рассматривать как 2 разных поля, которые вращаются разнонаправлено и имеют равные амплитуды и частоты.
- Когда ротор находится в неподвижном состоянии, эти поля приводят к появлению равных по модулю, но разнонаправленных моментов.
- Если у двигателя отсутствуют специальные пусковые механизмы, то при старте результирующий момент будет равен нулю, а значит – двигатель не будет вращаться.
- Если же ротор приведен во вращение в какую-то сторону, то соответствующий момент начинает преобладать, а значит, вал двигателя продолжит вращаться в заданном направлении.
Схема запуска:
- Запуск производится магнитным полем, которое вращает подвижную часть мотора. Оно создается 2 обмотками: главной и дополнительной. Последняя имеет меньший размер и является пусковой. Она подключается к основной электрической сети через ёмкость или индуктивность. Подключение осуществляется только на время пуска. В моторах с низкой мощностью, пусковая фаза замкнута накоротко.
- Пуск двигателя осуществляют удержанием пусковой кнопки на несколько секунд, вследствие чего происходит разгон ротора.
- Во время отпускания пусковой кнопки, электромотор из двухфазного режима переходит в однофазный, и его работа поддерживается соответствующей компонентой переменного магнитного поля.
- Пусковая фаза рассчитана на кратковременную работу– как правило, до 3 с. Более длительное время нахождения под нагрузкой, может привести к перегреву, возгоранию изоляции и поломке механизма. Поэтому, важно своевременно отпустить пусковую кнопку.
- С целью повышения надежности в корпус однофазных двигателей встраивают центробежный выключатель и тепловое реле.
- Функция центробежного выключателя состоит в отключении пусковой фазы, когда ротор набирает номинальную скорость. Это происходит автоматически – без вмешательства пользователя.
- Тепловое реле отключает обе фазы обмотки, если они нагреваются выше допустимого.
Устройство и предназначение конденсаторов
Этот элемент электрической схемы состоит из двух пластин (обкладок). Обкладки расположены по отношению друг к другу так, что между ними оставлен зазор. При включении конденсатора в цепь электрического тока на обкладках накапливаются заряды. Из-за физического зазора между пластинами устройство обладает маленькой проводимостью.
Внимание! Этот зазор бывает воздушным или заполнен диэлектриком. В качестве диэлектрика применяются: бумага, электролит, оксидные плёнки.
Главная особенность такого двухполюсника – способность накапливать энергию электрического поля и мгновенно отдавать её на нагрузку (заряд и разряд).
Устройство детали
Первым прототипом ёмкости стала Лейденская банка, созданная в 1745 году в городе Лейдене немцем фон Клейстом. Банку изнутри и снаружи выстилали медной фольгой. Так появилась идея создания обкладок.


Лейденские банки, соединённые параллельно
Графическое обозначение двухполюсника на схемах и чертежах – две вертикально расположенные черты (как обкладки) с зазором между ними.


Обозначение на схемах
Схема подключения асинхронного двигателя с пусковой обмоткой: последовательность сборки
Например, мы определили, что из статора выходят четыре или три провода. Вызваниваем между ними активное сопротивление омметром и определяем пусковую и рабочую обмотку.
Допустим, что у четырех проводов между собой вызваниваются две пары с сопротивлением 6 и 12 Ом. Скрутим произвольно по одному проводу от каждой обмотки, обозначим это место, как «общий провод» и получим между тремя выводами замер 6, 12, 18 Ом.


Точками на этой схеме я обозначил начала обмоток. Пока на этот вопрос не обращайте внимание. Но, к нему потребуется вернуться дальше, когда возникнет необходимость выполнять реверс.
Цепочка между общим выводом и меньшим сопротивлением 6Ω будет главной, а большим 12Ω — вспомогательной, пусковой обмоткой. Последовательное их соединение покажет суммарный результат 18 Ом.
Помечаем эти 3 конца уже понятной нам маркировкой:
- О — общий;
- П — пусковой;
- Р — рабочий.
Дальше нам понадобиться кнопка ПНВС, специально созданная для запуска однофазных асинхронных двигателей. Ее электрическая схема представлена тремя замыкающими контактами.
Но, она имеет важное отличие от кнопки запуска трехфазных электродвигателей ПНВ: ее средний контакт выполнен с самовозвратом, а не фиксацией при нажатии.
Это означает, что при нажатии кнопки все три контакта замыкаются и удерживаются в этом положении. Но, при отпускании руки два крайних контакта остаются замкнутыми, а средний возвращается под действием пружины в разомкнутое состояние.


Эту кнопку и клеммы вывода обмоток статора из электродвигателя соединяем трехжильным кабелем так, чтобы на средний контакт ПНВС выходил контакт пусковой обмотки. Выводы П и Р подключаем на ее крайние контакты и помечаем.
С обратной стороны кнопки между контактами пусковой и рабочей обмоток жестко монтируем перемычку. На нее и второй крайний контакт подключаем кабель питания бытовой сети 220 вольт с вилкой для установки в розетку.


При включении этой кнопки под напряжение все три контакта замкнутся, а рабочая и пусковая обмотка станут работать. Буквально через пару секунд двигатель закончит набирать обороты, выйдет на номинальный режим.
Тогда кнопку запуска отпускают:
- пусковая обмотка отключается самовозвратом среднего контакта;
- главная обмотка двигателя продолжает раскручивать ротор от сети 220 В.
Это самая доступная схема подключения асинхронного двигателя с пусковой обмоткой для домашнего мастера. Однако, она требует наличия кнопки ПНВС.
Если ее нет, а электродвигатель требуется срочно запустить, то ее допустимо заменить комбинацией из двухполюсного автоматического выключателя и обычной электрической кнопки соответствующей мощности с самовозвратом.
Придется включать их одновременно, а кнопку отпускать после раскрутки электродвигателя.
Все запуски электродвигателей и любого электрического оборудования всегда выполняйте с защитой этих цепей автоматическими выключателями. Они предотвратят развитие аварийных ситуаций при возникновении любых случайных ошибок.
С целью закрепления материала по этой теме рекомендую посмотреть видеоролик владельца Oleg pl. Он как раз показывает конструкцию встроенного центробежного регулятора, предназначенного для автоматического отключения вспомогательной обмотки.
GjckfNo4rzY
Конденсаторные сборки
Описание: конденсаторная сборка (capacitor array) — это группа конденсаторов, конструктивно объединенных в одном корпусе, причем любой из конденсаторов может быть отдельно от остальных подключен к внешней цепи. Существует много различных типов сборок, которые отличаются количеством конденсаторов, типом диэлектрика, величиной отклонения емкости конденсатора от номинального значения, максимальным рабочим напряжением, типом корпуса и др.
Приложения: конденсаторные сборки широко применяются в мобильной и носимой аппаратуре, в материнских платах компьютеров и цифровых приставках, в радиочастотных модемах и усилителях, в автомобильных и медицинских приложениях и т.д.
Корпусные исполнения: конденсаторные сборки выпускаются как в DIP корпусах, так и в SMD исполнении. Наиболее популярные типоразмеры сборок для поверхностного монтажа 0508, 0612, 0805 представлены в нашем каталоге.
Конструкция и устройство конденсаторного электродвигателя
По конструктивному оформлению и по таким параметрам, как мощность электродвигателя и его габариты они могут быть разными. Это непосредственно зависит от назначения и использования электродвигателя конденсаторного типа.


Вообще, чаще конденсаторные двигателей используются в бытовой технике небольших мощностей, такой стиральные машины старого образца, электромагнитофонах, и другой технике, не обладающей большими мощностями. Как правило, такие разновидности электродвигателей не используются при мощности, которая превышает 1кВт, поскольку сам по себе конденсатор имеет достаточно высокую стоимость.
Работа конденсаторного электродвигателя происходит посредством того, что в конструкции он имеет две обмотки, одна из которых непосредственно подключается к электрической сети, вторая же соединяется с самим конденсатором для создания магнитного поля вращающегося действия. Конденсаторы выполняют так называемое сдвижение фазы тока практически на девяносто градусов.
Во время запуска асинхронного электрического двигателя конденсаторного типа действия оба непосредственных рабочих элемента (конденсаторы) включены, однако после того, как произойдет необходимый для стабильной работы двигателя разгон, один из работающих конденсаторов отключают. Делается это в целях экономии рабочего ресурса электродвигателя, к тому же нет смысла «гонять» оба конденсатора, ведь такая необходимость присутствует лишь при начальной стадии набора оборотов, потом, когда скорость работы двигателя достигает номинального уровня, с последующими задачами вполне под силу справится одному работающему конденсатору.
Наиболее близок по пусковому устройству, а так же по характеристикам работы и такой тип конденсаторного электрического двигателя к асинхронному электрическому двигателю трехфазного типа.
Онлайн расчет емкости конденсатора мотора
Введите данные для расчёта конденсаторов — мощность двигателя и его КПД
Есть специальная формула, по которой можно высчитать требуемую емкость точно, но вполне можно обойтись онлайн калькулятором или рекомендациями, которые выведены на основании многих опытов:
Рабочий конденсатор берут из расчета 0,8 мкФ на 1 кВт мощности двигателя;
Пусковой подбирается в 2-3 раза больше.
Конденсаторы должны быть неполярными, то есть не электролитическими. Рабочее напряжение этих конденсаторов должно быть минимум в 1,5 раза выше, чем напряжение сети, то есть, для сети 220 В берем емкости с рабочим напряжением 350 В и выше. А чтобы пуск проходил проще, в пусковую цепь ищите специальный конденсатор. У них в маркировке присутствует слова Start или Starting.


Эти конденсаторы можно подбирать методом от меньшего к большему. Так подобрав среднюю емкость, можно постепенно добавлять и следить за режимом работы двигателя, чтобы он не перегревался и имел достаточно мощности на валу. Также и пусковой конденсатор подбирают добавляя, пока он не будет запускаться плавно без задержек.
При нормальной работе трехфазных асинхронных электродвигателей с конденсаторным пуском, включенных в однофазную сеть предполагается изменение (уменьшение) емкости конденсатора с увеличением частоты вращения вала. В момент пуска асинхронных двигателей (особенно, с нагрузкой на валу) в сети 220 В требуется повышенная емкость фазосдвигающего конденсатора.
Недостатки
Ёмкость конденсатора подобрана для случая оптимальной частоты вращения двигателя. В случае, если частота вращения ниже оптимальной (пуск или большая механическая нагрузка, особенно переменная) противо-ЭДС в обмотке, подключенной через конденсатор, отклоняется от идеального значения, что разбалансирует всю схему и приводит к появлению эллиптического магнитного поля с сильным падением мощности.
Поэтому схема применима только для небольших или для практически постоянных нагрузок, как, например, в проигрывателе виниловых дисков или же отопительном циркуляционном насосе. В пылесосе же, например, это невозможно, и потому там применяется коллекторный двигатель.
Кроме того, конденсаторный двигатель, как и любой асинхронный, предъявляет довольно высокие требования к качеству синусоиды и частоте питающего напряжения. Потому устройства, содержащие такие двигатели нельзя подключать к дешёвому «компьютерному» ИБП — в режиме работы от батарей такой ИБП дает часто не синус, а меандр, иногда с частотой куда выше 50 Гц. Такие устройства требуют online UPS.
Однофазный электродвигатель с асимметричным магнитопроводом статора


Статор такого однофазного двигателя выполняется с ярко выраженными полюсами на не симметричном шихтованном сердечнике. Ротор — короткозамкнутый типа «беличья клетка».
Данный электродвигатель для работы не требует использования фазосдвигающих элементов. Недостатком данного двигателя является низкий КПД.
Схема подключения асинхронного двигателя с конденсаторным запуском: 3 технологии
Статор с обмотками для запуска от конденсаторов имеет примерно такую же конструкцию, что и рассмотренная выше. Отличить по внешнему виду и простыми замерами мультиметром его сложно, хотя обмотки могут иметь равное сопротивление.
Ориентируйтесь по заводскому шильдику и таблице из книги Алиева. Такой электродвигатель можно попробовать подключить по схеме с кнопкой ПНВС, но он не станет раскручиваться.
Ему не хватит пускового момента от вспомогательной обмотки. Он будет гудеть, дергаться, но на режим вращения так и не выйдет. Здесь нужно собирать иную схему конденсаторного запуска.
2 конца разных обмоток подключают с общим выводом О. На него и второй конец рабочей обмотки подают через коммутационный аппарат АВ напряжение бытовой сети 220 вольт.
Конденсатор подключают к выводам пусковой и рабочей обмоток.
В качестве коммутационного аппарата можно использовать сдвоенный автоматический выключатель, рубильник, кнопки типа ПНВ или ПНВС.


Здесь получается, что:
- главная обмотка работает напрямую от 220 В;
- вспомогательная — только через емкость конденсатора.
Эта схема используется для легкого запуска конденсаторных электродвигателей, включаемых в работу без тяжелой нагрузки на привод, например, вентиляторы, наждаки.
Если же в момент запуска необходимо одновременно раскручивать ременную передачу, шестеренчатый механизм редуктора или другой тяжелый привод, то в схему добавляют пусковой конденсатор, увеличивающий пусковой момент.
Принцип работы такой схемы удобно приводить с помощью все той же кнопки ПНВС.


Ее контакт с самовозвратом подключается на вспомогательную обмотку через дополнительный пусковой конденсатор Сп. Второй конец его обкладки соединяется с выводом П и рабочей емкостью Ср.
Дополнительный конденсатор в момент запуска электродвигателя с тяжелым приводом помогает ему быстро выйти на номинальные обороты вращения, а затем просто отключается, чтобы не создавать перегрев статора.
Эта схема таит в себе одну опасность, связанную с длительным хранением емкостного заряда пусковым конденсатором после снятия питания 220 при отключении электродвигателя.
При неаккуратном обращении или потере внимательности работником ток разряда может пройти через тело человека. Поэтому заряженную емкость требуется разряжать.
В рассматриваемой схеме после снятия напряжения и выдергивания вилки со шнуром питания из розетки это можно делать кратковременным включением кнопки ПНВС. Тогда емкость Сп станет разряжаться через пусковую обмотку двигателя.
Однако не все люди так поступают по разным причинам. Поэтому рекомендуется в цепочку пуска монтировать два дополнительных резистора.


Сопротивление Rр выбирается номиналом около 300÷500 Ом нескольких ватт. Его задача — после снятия напряжения питания осуществить разряд вспомогательной емкости Сп.
Резистор Rо низкоомный и мощный выполняет роль токоограничивающего сопротивления.
Добавление резисторов в схему пуска электродвигателя повышает безопасность его эксплуатации, автоматически ограничивает протекание емкостного тока разряда заряженного конденсатора через тело человека.
Где взять номиналы главного и вспомогательного конденсаторов?
Дело в том, что величину пусковой и рабочей емкости для конденсаторного запуска однофазного АД завод определяет индивидуально для каждой модели и указывает это значение в паспорте.
Отдельных формул для расчета, как это делается для конденсаторного запуска трехфазного двигателя в однофазную сеть по схемам звезды или треугольника просто нет.
Вам потребуется искать заводские рекомендации или экспериментировать в процессе наладки с разными емкостями, выбирая наиболее оптимальный вариант.
Владелец
видеоролика “I V Мне интересно” показывает способы оптимальной настройки параметров схемы запуска конденсаторных двигателей.
Фото однофазных электродвигателей


-


Конденсатор для электродвигателя: советы по подбору и правила подключения пускового конденсатора -
Электродвигатель постоянного тока: устройство и принцип работы. Основные особенности использования и маркировка
-
Обмотка электродвигателя: лучшие схемы соединения и подключения. Инструкция как сделать и прозвонить обмотку своими руками
Читайте здесь! Как определить обороты электродвигателя? Инструкция, формулы и таблицы расчета. Определяем мощность и частоту оборотов в домашних условиях
Применение
Питание трёхфазного двигателя от однофазной электрической сети
Промышленные конденсаторные двигатели имеют в основе, как правило, двухфазный двигатель (проще производство и схема подключения). Трёхфазные двигатели переделываются под однофазную сеть обычно в частном порядке или мелкосерийном производстве в силу массовости таких типов двигателей и сетей, выбирая при этом между сложностью схемы и недоиспользованием мощности двигателя.
Такие двигатели используются в основном в бытовой технике малой мощности: активаторных стиральных машинах, механизмах катушечных и стационарных кассетных магнитофонов, недорогих проигрывателях виниловых дисков, вентиляторах и другой подобной технике.
Также такие двигатели применяются в циркуляционных насосах водопроводных и отопительных систем (напр. компании Grundfos), и в воздуходувках и дымососах отопительных и водонагревательных агрегатов (напр. Buderus).
Трёхфазные асинхронные двигатели в однофазную электрическую сеть включают через фазосдвигающий конденсатор.
Первый вывод обмотки электродвигателя подключается к «фазовому» проводу, второй вывод — к нейтральному проводу. Третий вывод обмотки подключается через конденсатор, ёмкость которого подбирается по формулам, в зависимости от того, как соединены обмотки двигателя — звездой или треугольником.
Если обмотки соединены звездой, тогда ёмкость «рабочего» конденсатора должна быть
.
Если обмотки соединены треугольником, тогда ёмкость «рабочего» конденсатора должна быть
, где
— напряжение сети, вольт;
— рабочий ток двигателя, ампер;
— электрическая ёмкость, микрофарад.
При пуске двигателя кнопкой подключается пусковой конденсатор , ёмкость которого должна быть в два раза больше ёмкости рабочего. Как только двигатель наберёт нужные обороты, кнопку «Пуск» отпускают.
Переключатель позволяет изменять направление вращения электродвигателя. Выключатель отключает электродвигатель.
Используя паспортные данные электродвигателя, можно определить его рабочий ток по формуле:
, где
— электрическая мощность двигателя, Ватт;
— напряжение сети, вольт;
— коэффициент полезного действия;
— коэффициент мощности.
Как поменять направление вращения однофазного асинхронного двигателя: 2 схемы
Высока вероятность того, что АД запустили по одному из вышеперечисленных принципов, а он крутится не в ту сторону, что требуется для привода.
Другой вариант: на станке необходимо обязательно выполнять реверс для обработки деталей. Оба эти случаи поможет реализовать очередная разработка.
Возвращаю вас к начальной схеме, когда мы случайным образом объединяли концы главной и вспомогательной обмоток. Теперь нам надо сменить последовательность включения одной из них. Показываю на примере смены полярности пусковой обмотки.


В принципе так можно поступить и с главной. Тогда ток по этой последовательно собранной цепочке изменит направление одного из магнитных потоков и направление вращения ротора.
Для одноразового реверса этого переключения вполне достаточно. Но для станка с необходимостью периодической смены направления движения привода предлагается схема реверса с управлением тумблером.
Этот переключатель можно выбрать с двумя или тремя фиксированными положениями и шестью выводами. Подбирать его конструкцию необходимо по току нагрузки и допустимому напряжению.
Схема реверса однофазного АД с пусковой обмоткой через тумблер имеет такой вид.


Пускать токи через тумблер лучше от вспомогательной обмотки, ибо она работает кратковременно. Это позволит продлить ресурс ее контактов.
Реверс АД с конденсаторным запуском удобно выполнить по следующей схеме.


Для условий тяжелого запуска параллельно основному конденсатору через средний контакт с самовозвратом кнопки ПНВС подключают дополнительный конденсатор. Эту схему не рисую, она показана раньше.
Переключать положение тумблера реверса необходимо исключительно при остановленном роторе, а не во время его вращения. Случайная смена направления работы двигателя под напряжением связана с большими бросками токов, что ограничивает его ресурс.
Поэтому место расположения тумблера реверса на станке необходимо выбирать так, чтобы исключить случайное оперирование им во время работы. Устанавливайте его в углублениях конструкции.
Если у вас еще остались неясные моменты про однофазный асинхронный двигатель и схему подключения, то задавайте их в комментариях. Обязательно обсудим.
Характеристики
Напряжение, создаваемое на обкладках двухполюсника, равно разности потенциалов:
Танталовые конденсаторы
U = ϕ1 – ϕ2.
Зная напряжение и заряд, можно вычислить ёмкость (С). Это одна из основных характеристик двухполюсника:
С = q/U,
где:
- C – ёмкость, Ф (фарад);
- q – заряд, накопленный двухполюсником, Кл (кулон);
- U – напряжение, В.
Электроёмкость является физической величиной, которую определяют, разделив заряд пластины на разность потенциалов между пластинами. Единица измерений C – фарада (Ф).
К сведению. Ёмкость, равная 1 Ф, – большая величина, поэтому на практике её измеряют: в микрофарадах (мкФ), пикофарадах (пФ), нанофарадах (нФ).


Таблица измерения ёмкости
К остальным параметрам двухполюсника относятся:
- плотность энергии;
- номинальное напряжение;
- полярность.
Когда масса корпуса детали значительно меньше, чем общая масса электролита и пластин, тогда достигается максимально высокая плотность энергии.
Номинальным называется такое напряжение, при котором элемент может работать длительное время, без нарушения (отклонения) рабочих характеристик.
Емкостные двухполюсники бывают:
- неполярными;
- полярными (электролитическими).
Неполярные детали при подключении не ориентированы на полярность выводов заряда источника питания. Особенность электролитических элементов связана с химической реакцией между диэлектриком и электролитом. У таких моделей есть анод (положительный вывод) и катод (отрицательный вывод).
Однофазный асинхронный электродвигатель с пусковой обмоткой
Конструкция однофазного двигателя с вспомогательной или пусковой обмоткой
Основными компонентами любого электродвигателя являются ротор и статор. Ротор — вращающаяся часть электродвигателя, статор — неподвижная часть электродвигателя, с помощью которого создается магнитное поле для вращения ротора.


Основные части однофазного двигателя: ротор и статор
Статор имеет две обмотки, расположенные под углом 90° относительно друг друга. Основная обмотка называется главной (рабочей) и обычно занимает 2/3 пазов сердечника статора, другая обмотка называется вспомогательной (пусковой) и обычно занимает 1/3 пазов статора.
Двигатель фактически является двухфазным, но так как рабочей является только одна обмотка, электродвигатель называют однофазным.
Ротор обычно представляет из себя короткозамкнутую обмотку, также из-за схожести называемой «беличьей клеткой». Медные или алюминиевые стержни которого с торцов замкнуты кольцами, а пространство между стержнями чаще всего заливается сплавом алюминия. Так же ротор однофазного двигателя может быть выполнен в виде полого немагнитного или полого ферромагнитного цилиндра.


Однофазный двигатель с вспомогательной обмоткой имеет 2 обмотки расположенные перпендикулярно относительно друг друга
Принцип работы однофазного асинхронного двигателя
Для того чтобы лучше понять работу однофазного асинхронного двигателя, давайте рассмотрим его только с одним витком в главной и вспомогательной обмотки.


Проанализируем случай с двумя обмотками имеющими по оному витку
Рассмотрим случай когда в вспомогательной обмотки не течет ток. При включении главной обмотки статора в сеть, переменный ток, проходя по обмотке, создает пульсирующее магнитное поле, неподвижное в пространстве, но изменяющееся от +Фmах до -Фmах.
Остановить
Пульсирующее магнитное поле
Если поместить ротор, имеющий начальное вращение, в пульсирующее магнитное поле, то он будет продолжать вращаться в том же направлении.
Чтобы понять принцип действия однофазного асинхронного двигателя разложим пульсирующее магнитное поле на два одинаковых круговых поля, имеющих амплитуду равную Фmах/2 и вращающихся в противоположные стороны с одинаковой частотой:
,
- где nпр – частота вращения магнитного поля в прямом направлении, об/мин,
- nобр – частота вращения магнитного поля в обратном направлении, об/мин,
- f1 – частота тока статора, Гц,
- p – количество пар полюсов,
- n1 – скорость вращения магнитного потока, об/мин
Остановить
Разложение пульсирующего магнитного потока на два вращающихся
Действие пульсирующего поля на вращающийся ротор
Рассмотрим случай когда ротор, находящийся в пульсирующем магнитном потоке, имеет начальное вращение. Например, мы вручную раскрутили вал однофазного двигателя, одна обмотка которого подключена к сети переменного тока. В этом случае при определенных условиях двигатель будет продолжать развивать вращающий момент, так как скольжение его ротора относительно прямого и обратного магнитного потока будет неодинаковым.
Будем считать, что прямой магнитный поток Фпр, вращается в направлении вращения ротора, а обратный магнитный поток Фобр — в противоположном направлении. Так как, частота вращения ротора n2 меньше частоты вращения магнитного потока n1, скольжение ротора относительно потока Фпр будет:
,
- где sпр – скольжение ротора относительно прямого магнитного потока,
- n2 – частота вращения ротора, об/мин,
- s – скольжение асинхронного двигателя


Прямой и обратный вращающиеся магнитные потоки вместо пульсирующего магнитного потока
Магнитный поток Фобр вращается встречно ротору, частота вращения ротора n2 относительно этого потока отрицательна, а скольжение ротора относительно Фобр
,
- где sобр – скольжение ротора относительно обратного магнитного потока
Запустить
Остановить
Вращающееся магнитное поле пронизывающее ротор


Ток индуцируемый в роторе переменным магнитным полем
Согласно закону электромагнитной индукции прямой Фпр и обратный Фобр магнитные потоки, создаваемые обмоткой статора, наводят в обмотке ротора ЭДС, которые соответственно создают в короткозамкнутом роторе токи I2пр и I2обр. При этом частота тока в роторе пропорциональна скольжению, следовательно:
,
- где f2пр – частота тока I2пр наводимого прямым магнитным потоком, Гц
,
- где f2обр – частота тока I2обр наводимого обратным магнитным потоком, Гц
Таким образом, при вращающемся роторе, электрический ток I2обр, наводимый обратным магнитным полем в обмотке ротора, имеет частоту f2обр, намного превышающую частоту f2пр тока ротора I2пр, наведенного прямым полем.
Пример: для однофазного асинхронного двигателя, работающего от сети с частотой f1 = 50 Гц при n1 = 1500 и n2 = 1440 об/мин,
скольжение ротора относительно прямого магнитного потока sпр = 0,04;
частота тока наводимого прямым магнитным потоком f2пр = 2 Гц;
скольжение ротора относительно обратного магнитного потока sобр = 1,96;
частота тока наводимого обратным магнитным потоком f2обр = 98 Гц


Согласно закону Ампера, в результате взаимодействия электрического тока I2пр с магнитным полем Фпр возникает вращающий момент
,
- где Mпр – магнитный момент создаваемый прямым магнитным потоком, Н∙м,
- сM — постоянный коэффициент, определяемый конструкцией двигателя
Электрический ток I2обр, взаимодействуя с магнитным полем Фобр, создает тормозящий момент Мобр, направленный против вращения ротора, то есть встречно моменту Мпр:
,
- где Mобр – магнитный момент создаваемый обратным магнитным потоком, Н∙м
Результирующий вращающий момент, действующий на ротор однофазного асинхронного двигателя,
,
Справка: В следствие того, что во вращающемся роторе прямым и обратным магнитным полем будет наводиться ток разной частоты, моменты сил действующие на ротор в разных направлениях будут не равны. Поэтому ротор будет продолжать вращаться в пульсирующем магнитном поле в том направлении в котором он имел начальное вращение.
Тормозящее действие обратного поля
При работе однофазного двигателя в пределах номинальной нагрузки, то есть при небольших значениях скольжения s = sпр, крутящий момент создается в основном за счет момента Мпр. Тормозящее действие момента обратного поля Мобр — незначительно. Это связано с тем, что частота f2обр много больше частоты f2пр, следовательно, индуктивное сопротивление рассеяния обмотки ротора х2обр = x2sобр току I2обр намного больше его активного сопротивления. Поэтому ток I2обр, имеющий большую индуктивную составляющую, оказывает сильное размагничивающее действие на обратный магнитный поток Фобр, значительно ослабляя его.
,
- где r2 — активное сопротивление стержней ротора, Ом,
- x2обр — реактивное сопротивление стержней ротора, Ом.
Если учесть, что коэффициент мощности невелик, то станет, ясно, почему Мобр в режиме нагрузки двигателя не оказывает значительного тормозящего действия на ротор однофазного двигателя.


С помощью одной фазы нельзя запустить ротор


Ротор имеющий начальное вращение будет продолжать вращаться в поле создаваемом однофазным статором
Действие пульсирующего поля на неподвижный ротор
При неподвижном роторе (n2 = 0) скольжение sпр = sобр = 1 и Мпр = Мобр, поэтому начальный пусковой момент однофазного асинхронного двигателя Мп = 0. Для создания пускового момента необходимо привести ротор во вращение в ту или иную сторону. Тогда s ≠ 1, нарушается равенство моментов Мпр и Мобр и результирующий электромагнитный момент приобретает некоторое значение .
Пуск однофазного двигателя. Как создать начальное вращение?
Одним из способов создания пускового момента в однофазном асинхронном двигателе, является расположение вспомогательной (пусковой) обмотки B, смещенной в пространстве относительно главной (рабочей) обмотки A на угол 90 электрических градусов. Чтобы обмотки статора создавали вращающееся магнитное поле токи IA и IB в обмотках должны быть сдвинуты по фазе относительно друг друга. Для получения фазового сдвига между токами IA и IB в цепь вспомогательной (пусковой) обмотки В включают фазосмещающий элемент, в качестве которого используют активное сопротивление (резистор), индуктивность (дроссель) или емкость (конденсатор) .
После того как ротор двигателя разгонится до частоты вращения, близкой к установившейся, пусковую обмотку В отключают. Отключение вспомогательной обмотки происходит либо автоматически с помощью центробежного выключателя, реле времени, токового или дифференциального реле, или же вручную с помощью кнопки.
Таким образом, во время пуска двигатель работает как двухфазный, а по окончании пуска — как однофазный.
Подключение однофазного двигателя
С пусковым сопротивлением
Двигатель с расщепленной фазой — однофазный асинхронный двигатель, имеющий на статоре вспомогательную первичную обмотку, смещенную относительно основной, и короткозамкнутый ротор .
Однофазный асинхронный двигатель с пусковым сопротивлением — двигатель с расщепленной фазой, у которого цепь вспомогательной обмотки отличается повышенным активным сопротивлением.


Омический сдвиг фаз, биффилярный способ намотки пусковой обмотки


Разное сопротивление и индуктивность обмоток
Для запуска однофазного двигателя можно использовать пусковой резистор, который последовательно подключается к пусковой обмотки. В этом случае можно добиться сдвига фаз в 30° между токами главной и вспомогательной обмотки, которого вполне достаточно для пуска двигателя. В двигателе с пусковым сопротивлением разность фаз объясняется разным комплексным сопротивлением цепей.
Также сдвиг фаз можно создать за счет использования пусковой обмотки с меньшей индуктивностью и более высоким сопротивлением. Для этого пусковая обмотка делается с меньшим количеством витков и с использованием более тонкого провода чем в главной обмотке.
Отечественной промышленностью изготавливается серия однофазных асинхронных электродвигателей с активным сопротивлением в качестве фазосдвигающего элемента серии АОЛБ мощностью от 18 до 600 Вт при синхронной частоте вращения 3000 и 1500 об/мин, предназначенных для включения в сеть напряжением 127, 220 или 380 В, частотой 50 Гц.
С конденсаторным пуском
Двигатель с конденсаторным пуском — двигатель с расщепленной фазой, у которого цепь вспомогательной обмотки с конденсатором включается только на время пуска.
Ёмкостной сдвиг фаз с пусковым конденсатором
Чтобы достичь максимального пускового момента требуется создать круговое вращающееся магнитное поле, для этого требуется чтобы токи в главной и вспомогательной обмотках были сдвинуты друг относительно друга на 90°. Использование в качестве фазосдвигающего элемента резистора или дросселя не позволяет обеспечить требуемый сдвиг фаз. Лишь включение конденсатора определенной емкости позволяет обеспечить фазовый сдвиг 90°.
Среди фазосдвигающих элементов, только конденсатор позволяет добиться наилучших пусковых свойств однофазного асинхронного электродвигателя.
Двигатели в цепь которых постоянно включен конденсатор используют для работы две фазы и называются — конденсаторными. Принцип действия этих двигателей основан на использовании вращающегося магнитного поля.
Примеры:
Тип NP0/C0G:
- 0402 — серия CC0402JRNPO9 производства компании Yageo с диапазоном доступных емкостей 0,01…1 нФ;
- 0603 — серия CC0603JRNPO9 от Yageo с диапазоном доступных емкостей 0,008…2,7 нФ.
Тип X7R:
- 0402 — серия CC0402KRX7R9BB от Yageo с диапазоном доступных емкостей 0,1…10 нФ;
- 0603 — серия CC0603KRX7R7BB от Yageo с диапазоном доступных емкостей 0,1…1 мкФ;
- 1206 — серия GRM31 от Murata с диапазоном доступных емкостей 470 пф…22 мкФ;
- 0805 — серия CL21 от Samsung с диапазоном доступных емкостей 150 пф…10 мкФ.
Для монтажа в отверстия:
- Серия C315C производства компании Kemet с диапазоном доступных емкостей 1 пФ …1 мкФ.
Классификация
Основные параметры конденсаторных изделий определяются типом диэлектрика. От материала зависит стабильность ёмкости, тангенс диэлектрических потерь, пьезоэффект и другие. Исходя из этого, классификацию моделей целесообразно осуществлять именно по виду диэлектрика.
По данному признаку различают следующие типы изделий:
- вакуумные;
- с воздушным диэлектриком;
- радиоэлементы, в которых диэлектриком является жидкость;
- с твёрдым неорганическим диэлектриком (стекло, слюда, керамика). Характеризуются малым током утечки;
- модели с бумажным диэлектриком и комбинированные, бумажно-плёночные;
- масляные конденсаторы постоянного тока;
- электролитические;
- категория оксидных конденсаторов, к которым относятся оксидно-полупроводниковые и танталовые конденсаторы;
- твёрдотельные, у которых вместо жидкого электролита используется органический полимер или полимеризованный полупроводник.
В твёрдотельных моделях срок службы больший, чем у жидко-электролитических и составляет около 50 000 часов. У них меньшее внутренне сопротивление, то есть ЭПС почти не зависит от температуры, они не взрываются.
Классифицируют изделия и по другому важному параметру – изменению ёмкости. По данному признаку различают:
- постоянные конденсаторы, то есть те, которые имеют постоянную емкость;
- переменные, у которых можно управлять изменением ёмкости механическим способом либо с помощью приложенного напряжения (варикапы и вариконды), а также путём изменения температуры (термоконденсаторы);
- класс подстроечных конденсаторов, которые используют для подстройки или выравнивания рабочих ёмкостей при настройке контуров, а также с целью периодической подстройки различных схем.
Все существующие конденсаторы можно условно разделить на общие и специальные. К изделиям общего назначения относятся самые распространённые низковольтные конденсаторы (см. рис. 6). К ним не предъявляют особых требований.


Рис. 6. Конденсаторы общего назначения
Все остальные ёмкостные радиоэлементы принадлежат к классу специального назначения:
- импульсные;
- пусковые;
- высоковольтные (см. рис. 7);
- помехоподавляющие,
- дозиметрические и др.;


Рис. 7. Высоковольтные конденсаторы
Изображённые на фото устройства могут работать в высоковольтных цепях сравнительно низкой частоты.
Величина емкости: рабочей и пусковой
Удельную ёмкость этих элементов можно высчитать, используя онлайн-калькулятор в сети интернет. Расчёт делают, самостоятельно пользуясь формулами.
Для запускающего элемента
Известны две формулы для определения ёмкости пускового двухполюсника:
- для схемы «звезда» – Cп = 2800*I/U;
- для схемы «треугольник» – Cп = 4800*I/U.
Номинальный ток рассчитывают, пользуясь выражением:
I = P/(1,73*U*η*cosϕ.
Здесь:
- P – мощность мотора;
- U – напряжение сети;
- η – КПД;
- cosϕ – коэффициент мощности.
Для рабочего элемента
Подобрать рабочий конденсатор можно из расчёта:
Cp = 1/2 Cп.
Запущенный и устойчиво работающий двигатель нуждается в применении рабочей ёмкости для вращения под нагрузкой.
Пусковой конденсатор
Если выбирать в качестве пускового элемента один из металлобумажных типов, то можно остановиться на таком, как – мбгч.
Это герметизированный и высоковольтный запускающий элемент. Его выпускают с величиной постоянной ёмкости до 10 мФ и рассчитанным на напряжение 250-1000 В. Применяют такой двухполюсник в сетях любого рода тока.


Двухполюсник МБГЧ
Примеры:
- Типоразмер A: серия TAJA от AVX с диапазоном доступных емкостей 1…10 мкФ;
- Типоразмер B: серия TAJB от AVX с диапазоном доступных емкостей 10…47 мкФ;
- Типоразмер C: серия TAJC от AVX с диапазоном доступных емкостей 47…220 мкФ;
- Типоразмер D: серия TAJD от AVX с диапазоном доступных емкостей 220…680 мкФ;
- Типоразмер A-E: серия 293D компании Vishay с диапазоном доступных емкостей 0,1…1000 мкФ;
- Типоразмер A-X: серии T491 компании Vishay с диапазоном доступных емкостей 0,1…1000 мкФ.
Какой тип использовать
Требования к конденсаторам для запуска электродвигателей простые:
- величина ёмкости достаточная для запуска мотора;
- номинальное напряжение подбирают на 10-15% выше, чем подключаемое;
- двухполюсник обязан работать с приложенным видом тока.
Есть небольшие нюансы для электрических машин, различающихся по принципу работы.
Для работы с трехфазным электродвигателем
В этом случае деталь осуществляет сдвиг фазы у обмотки асинхронной машины, и ее ёмкость должна быть высокой. Создание пускового момента и дальнейшая работа под нагрузкой требуют более точного подбора этой характеристики элемента.
Включение с однофазным электродвигателем
Пусковые конденсаторы здесь применяются для присоединения дополнительной обмотки. Она предназначена для запуска мотора и может быть включена как постоянно, через двухполюсник, так и кратковременно без него.
Особенности выбора детали
Выбранные конденсаторы пусковые соответствуют подаваемому напряжению. Величина их ёмкости не должна позволять двигателю перегреваться во время работы и легко запускать его в момент включения. Особых сложностей с подбором элементов не возникает.
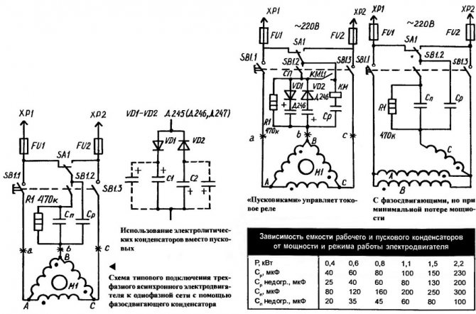
Использование электролитических конденсаторов
Пусковой конденсатор для начала работы трёхфазного двигателя от 220в обязан иметь большую ёмкость. Чтобы сдвинуть с места вал движка мощностью 3 киловатта, необходимо 2100 мкФ ёмкости. Для подбора такой величины С понадобится целая батарея неполярных компонентов. Электролитические двухполюсники (электролиты) обладают большей ёмкостью при меньших размерах. Но включение их в цепь переменного тока надолго недопустимо.
Осторожно. При длительном присоединении емкости электролит закипает, и элемент взрывается.


Схема подключения электролитического элемента для запуска двигателя
Примеры:
Для монтажа в отверстия:
- 25 В серия TKR производства Jamicon с диапазоном доступных емкостей 10…5000 мкФ.
- 50 В серия ECA-1HM от Panasonic с диапазоном доступных емкостей 4.7…3300 мкФ.
- 450 В серия HP32 от Hitachi AIC с диапазоном доступных емкостей 56…1000 мкФ.
Для поверхностного монтажа:
- 16 В серия EEE-FK от Panasonic с диапазоном доступных емкостей 10…4700 мкФ.
- 50 В серия CA050 от Yageo с диапазоном доступных емкостей 0,22…220 мкФ.
Подключение электромотора своими руками
Как подобрать конденсатор для однофазного двигателя, уже понятно. Отбор конденсаторов для трехфазного мотора рассмотрен. Как же практически смонтировать схему для пуска двигателя, что для этого необходимо?
Схема состоит из следующих компонентов:
- двигатель (до 3 квт);
- конденсаторы: пусковой и рабочий, которые отличаются по ёмкости;
- пусковая кнопка ПНВС на 220 В.
Зачем нужна пусковая кнопка? Для кратковременного подключения электролитического двухполюсника и начала вращения двигателя. Собирается цепь согласно схеме на картинке ниже. Все соединения производятся под болтовые зажимы. Оголённые участки проводов подлежат обязательной изоляции.
Практическая схема соединения
Применение запускающих и рабочих конденсаторов позволяет осуществить запуск двигателей в любой цепи. Емкости двухполюсников должно быть достаточно для начала вращения и устойчивой работы под нагрузкой. Детали предпочтительно использовать новые.
Примеры:
- серия OS-CON производства Panasonic с диапазоном доступных емкостей 3,3…2700 мкФ.
- серия SP-Cap производства Panasonic с диапазоном доступных емкостей 10…560 мкФ в SMD исполнении.
- серия ECAS производства компании Murata с диапазоном доступных емкостей 10…150 мкФ.