Метод проводки кабельной линии на тросах является универсальным способом монтажа кабеля. В ряде случаев это единственный способ прокладки силовой или осветительной линии, который зависит от сложности элементов конструкции конкретного объекта.
| Прайс-лист на монтаж муфт | |||
| № | Наименование работы | Ед. изм. | Цена (руб.) |
| 1 | Монтаж концевых муфт | шт. | 6000 |
| 2 | Монтаж соединительных муфт | шт. | 15000 |
| 3 | Испытания кабеля с муфтами | шт. | 12000 |
| 4 | Демонтаж соединительных муфт | шт. | 1500 |
| 5 | Прокол кабеля | шт. | 3000 |
Калькулятор | Полный прайс-лист | Оставьте заявку!
Тросовая прокладка кабеля выполняется при помощи специальных тросовых проводов, имеющих защиту. Основными преимуществами прокладки кабельной линии таким способом являются простота исполнения, надежность, невысокая стоимость работ и материалов, возможность использования данной линии в любых внешних условиях. Прокладка кабеля на троссе характеризуется широкой областью применения, наиболее распространенные примерами использования могут являться:
- Силовые и распределительные линии;
- Освещение;
- Магистральные линии (до 0,4 кВт) в производственных помещениях.
Методика подходит для прокладки линий внешней электропроводки с большой протяженностью, разница лишь в использовании материалов несущих элементов и самого кабеля.
Конструктивно, тросовая прокладка кабеля достаточно проста: несущий трос закрепляется пир помощи натяжных анкерных и (или) поддерживающих устройств, деталей крепления кабеля к несущему тросу и ответвительной коробки, так же снабженной элементами крепления.
Пример монтажа кабеля на тросе


Пример монтажа кабеля на тросе
Наиболее важным требованием к несущему тросу следует считать его сечение, которое подбирается исходя из веса кабеля и длины пролета. При этом, важен материал троса, который следует подбирать с учетом коррозии. Как правило, электрики используют стальной трос с диаметром от 3 до 6,5 мм и стальную, горячекатаную проволоку (оцинкованную или окрашенную) с диаметром от 5 до 8 мм.
Концевые крепления троса выполняются при помощи анкерного болта, конструкция которого содержит тросовый зажим, скобу, коуш и натяжную муфту.
Поддерживающие кабель крепления представляют собой струнные подвески и вертикальные оттяжки, поперечные и продольные, с диаметром от 2 до 5 мм, которые крепятся к нижним поясам ферм, колонн или перекрытий. Промежуточные крепления необходимы при больших пролетах и повышенной массе монтируемого провода через 18—24 м. Это позволяет уменьшить стрелу провеса и придать всей линии требуемую механическую прочность и устойчивость.
Общие принципы прокладки кабельных линий
К кабельным сооружениям относятся кабельные туннели, каналы, короба, блоки, шахты, этажи, двойные полы, кабельные эстакады, галереи, камеры,подпитывающие пункты.
Кабельные сооружения должны отделяться от других помещений и соседних кабельных сооружений несгораемыми перегородками и перекрытиями.
Таким же перегородками протяженные туннели должны разделяться на отсеки длиной не более 150 м при прокладке силовых и контрольных кабелей и не более 100 м при наличии маслонаполненных кабелей. В кабельных сооружениях должны выполняться мероприятия по предотвращению попадания в них технологических вод и масел, а также должен обеспечиваться отвод почвенных и ливневых вод.
Внутри кабельных сооружений кабели прокладываются на стальных конструкциях различного исполнения. Кабели больших сечений (алюминиевые сечением 25 мм2 и более, медные сечением 16 мм2 и более) укладываются непосредственно на конструкциях.
Силовые кабели меньших сечений и контрольные кабели прокладываются в лотках (сварных или перфорированных) или в коробах, которые крепятся на кабельных конструкциях или на стенах. Прокладка в лотках более надежна и имеет лучший внешний вид, чем открытая прокладка на конструкциях.
Кабельные сооружения, за исключением эстакад, колодцев для соединительных муфт, каналов и камер, должны обеспечиваться естественной или искусственной вентиляцией.
Вентиляционные устройства оборудуются заслонками для прекращения доступа воздуха в случае возгорания, а также для предупреждения промерзания туннеля в зимнее время.
При прокладке кабелей внутри помещения должен предотвращаться перегрев кабелей за счет повышения температуры окружающего воздуха и влияния технологического оборудования (не допускается прокладка кабелей возле маслопровода, над и под маслопроводами и трубопроводами с горючей жидкостью). В полу и междуэтажных перекрытиях кабели прокладываются в каналах или трубах. Запрещается прокладка кабелей в вентиляционных каналах, а также открыто по лестничным клеткам.
Пересечения кабелями проходов должны выполняться на высоте не менее 1,8 м от пола.
Где допускается прокладка кабеля с помощью троса
В нормах ПУЭ есть понятие типа открытой электропроводки, под которое попадает прокладка кабеля с помощью троса или проволоки. Открытая электропроводка — это способ проводки кабеля по поверхности потолка, стен, фермам, опорам и строительным элементам зданий и сооружений. Понятие «строительный элемент зданий и сооружений» достаточно расплывчатое и в полной мере не может дать ответ на вопрос возможна ли прокладка кабеля по забору, однако дает вполне утвердительный ответ, если осуществляется прокладка кабеля по стене здания или конструктивным элементам.
Рекомендации могут быть следующие: прокладку кабеля по забору необходимо выполнять, если его высота не ниже 2 метров, во-вторых — необходимо предусмотреть дополнительную механическую защиту кабеля от повреждений. Пункт 2.3.39 ПУЭ однозначно требует прокладки кабельной линии (при условии небронированного кабеля) на недоступной высоте — не менее 2 метров, а при меньшей высоте — только с защитой кабеля от механического повреждения( короб, труба, угловая сталь и т.п.).
— Технологическая карта на подвес кабеля ОКСН на существующих опорах ВЛ
Требования данной технологической карты распространяются на подвес волоконно-оптического кабеля связи на существующих опорах ВЛ.
Принятые в технологической карте технические решения соответствуют рабочей документации, техническим регламентам РФ, обеспечивают безопасные условия производства работ, исключают нанесение ущерба окружающей природной среде, обеспечивают пожаро- и взрывобезопасность, надлежащее качество работ и эффективное использование всех видов ресурсов.
ПОРЯДОК ВЫПОЛНЕНИЯ РАБОТ
Подготовительные работы перед подвеской кабеля:
— изучена рабочая документация
— проведено обследование трассы подвески ОКСН в натуре;
— подготовлены и проверены принадлежности, материалы, оборудование и
инструмент;
— входной контроль ОКСН, качества узлов креплений;
— тщательная проверка состояния опор и мест предстоящего крепления
на опорах арматуры;
— проверить подъездные пути к опорам;
— выбрать места для оборудования площадок, на которых предполагается устанавливать раскаточные устройства с кабельными барабанами для раскатки кабеля.
При протяжке ОКСН выполняются следующие работы:
— протяжка диэлектрического трос-лидера;
— протяжка ОКСН.
Порядок выполнения работ:
— у начальной или граничной опоры (от которой начинается раскатка ОКСН) установить раскаточное устройство (кабельную тележку) с барабаном кабеля и тормозную машину;
— у конечной граничной опоры, которая определяется строительной длиной ОКСН установить тяговую лебедку, на барабане которой намотан «трос-лидер» (из синтетического материала) или стальной не раскручивающийся канат.
Все установленные механизмы должны быть надежно закреплены (заякорены) в грунте и заземлены;
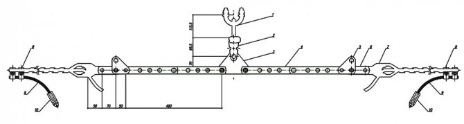
— выполнить монтаж узлов креплений кабеля на опорах ВЛ (рис.1.1);
— выполнить подвеску раскаточных роликов рядом с узлом крепления;
— «трос-лидер» размотать с барабана лебедки и на каждой опоре пропустить через желобки каждого ролика. При заправке в ролики и при обходе препятствий выполнить временную анкеровку троса для предотвращения его опускания и волочения по земле;
— протянуть «трос-лидер» до тормозной машины, пропустить его через нее и соединить с концом ОКСН на барабане с помощью монтажного (кабельного) чулка.
Между «тросом-лидером» и чулком необходимо устанавливать компенсатор кручения («вертлюг»), предохраняющий ОКСН от перекручивания;
— выполнить раскатку ОКСН по участку усилием тяговой лебедки наматыванием «троса-лидера» на ее барабан.
При этом узел соединения «троса-лидера» и ОКСН придвижении его по монтируемому участку должен сопровождаться выделенным сигнальщиком.
При прохождении узла соединения «троса-лидера» с ОКСН по роликам скорость раскатки должна снижаться до минимума.
— после окончания раскатки ОКСН должна быть задана стрела провеса в пролетах, ОКСН должен быть снят с роликов и закреплен арматурой крепления (рис. 1.1).
Для крепления ОКСН к ж/б опорам используют полуанкерное крепление и поддерживающее крепление (рис. 1.1).
Крепление этого зажима к опоре осуществляется через скобу и линейную сцепную арматуру.
Если работы по монтажу ОКСН не могут быть завершены в течение дня, ОКСН должен быть закреплен нейлоновым канатом для ограничения его движения на роликах.
— выполнить перекладку ОКСН из роликов в арматуру не позднее 48 часов после его раскатки.
Рис. 1.1 Схемы крепления ОКСН к существующим опорам ВЛ


Полуанкерное крепление ОКСН к ж/б опорам


Поддерживающее крепление ОКСН к ж/б опорам


Натяжное крепление ОКСН к металлическим опорам
СХЕМА ПРОВЕДЕНИЯ РАБОТ
Раскатка и подвеска ОКСН должны производиться под тяжением с предварительной протяжкой «трос-лидера» по раскаточным роликам в соответствии с инструкцией по монтажу.


Схема размещения механизмов для выполнения работ по раскатке и подвеске ОКСН
ПОТРЕБНОСТЬ В МАШИНАХ И ПРИСПОСОБЛЕНИЙ, ТЕХНОЛОГИЧЕСКОЙ ОСНАСТКЕ И МАТЕРИАЛОВ
3.1. Лебёдка электрическая.
3.2. Трактор трелевочный.
3.3. Лаборатория связи.
3.4. Монтажный инструмент
СОСТАВ БРИГАДЫ ПО ПРОФЕССИЯМ
| № п/п | Наименование квалификации | Количество | Примечание |
| 1. | Мастер | 1 | |
| 2. | Рабочий | 1 | |
| 3. | Монтажник связи – спайщик 4 р | 1 |
РЕШЕНИЯ ПО ОХРАНЕ ТРУДА, ПРОМЫШЛЕННОЙ И ПОЖАРНОЙ БЕЗОПАСНОСТИ
Действие настоящих Правил распространяется на персонал, выполняющий и организующий работы на строящихся и действующих ВЛ, в том числе на отключенных ВЛ, находящихся в зоне влияния других линий.
Настоящие Правила регламентируют требования безопасности, связанные со спецификой монтажа и эксплуатации ОКСН на ВЛ.
При монтаже ОКСН на ВЛ персоналу электросетевых строительно-монтажных организаций следует соблюдать правила безопасности при строительстве линий электропередачи и производстве электромонтажных работ.
К монтажу и эксплуатации ОКСН допускается персонал, прошедший курс обучения технологическим правилам и приемам работ.
Операторы тяговых и тормозных машин, принимающие участие в работах на ОКСН, должны иметь допуск на производство работ.
Средства защиты, используемые для производства работ на ВЛ, должны удовлетворять требованиям РД 34.03.603.
Механизмы, приспособления и инструменты, используемые при работах на ВЛ с ОКСН, должны быть исправны и применяться в соответствии с правилами Госгортехнадзора, правилами безопасности при работе с инструментами и приспособлениями и инструкциями по эксплуатации этих механизмов и приспособлений.
О замеченных неисправностях оборудования, приспособлений инструмента, представляющих опасность для самих работающих и окружающих, необходимо сообщить непосредственному (или вышестоящему) руководителю и без его разрешения к работе не приступать.
При производстве работ на ВЛ по монтажу и обслуживанию ОКСН между производителем работ и членами бригады должна быть обеспечена устойчивая связь. Выбирать схему подъема монтажных приспособлений, грузов и размещать блоки на опоре следует с таким расчетом, чтобы не возникли усилия, которые могут вызвать деформацию опоры и ее элементов.
До начала работы на основании инструкции по применению раскаточных машин с учетом конкретных условий должен проводиться инструктаж персонала по работе с данным типом машин, условиям их закрепления (якорения) и заземления.
Основные работы по монтажу ВОЛС-ВЛ на действующих ВЛ производятся как правило, с отключением линий, для чего необходимо провести согласование с организацией АО «ДРСК» «ХЭС», эксплуатирующей ВЛ, на которой будут осуществляться работы, а также с организациями — владельцами пересекаемых линий и оформить наряд-допуск в установленном порядке.
В целях сокращения продолжительности перерывов в электроснабжении работы должны быть организованы таким образом, чтобы максимальное число подготовительных и вспомогательных операций производилось до отключения или после включения линий.
Только на время выполнения работ, связанных с прикосновением и опасным приближением к токоведущим частям, напряжение снимается.
Монтаж ОКСН без отключения ВЛ (под напряжением) осуществляется на ВЛ 110 кВ, когда могут быть обеспечены достаточные воздушные промежутки на опорах, позволяющие выполнять безопасный подъем на высоту и работу на опоре.
Для защиты от воздействия опасных и вредных факторов необходимо соблюдать меры, обеспечивающие безопасность персонала (ограничения расстояний сближения, допустимой температуры наружного воздуха, скорости ветра и т.д., применение средств защиты и спецодежды).
При недостаточной освещенности рабочей зоны следует применять дополнительное местное освещение.
Опускание с опор на землю соединительных муфт по требованию связистов допускается производить без отключения линии электропередачи.
Эта технологическая операция должна быть предусмотрена в местной инструкции по эксплуатации ВЛ с волоконно-оптическим кабелем и выполняться по разработанной технологической карте персоналом, обслуживающим эту линию ПАО «МТС».
До начала работ по протяжке ОКСН устанавливаются защиты над пересекаемыми дорогами, движение по ним запрещается, на дорогах должны выставляться дежурные с флажками на расстоянии 100 м от места проведения работ.
При установке раскаточных машин в рабочее положение они должны быть закреплены во избежание смещения и заземлены.
При раскатке ОКСН операции по смене барабанов с канатом-лидером на натяжной машине должны выполняться только после временного закрепления (анкеровки) ОКСН.
При работе с кабелем во время монтажа соединительных муфт необходимо избегать прикосновений оптических волокон к незащищенному телу, чтобы предотвратить попадание стеклянных частиц волокон на кожу и в организм.
При осуществлении строительства ВОЛС-ВЛ на линиях электропередачи, проходящих на участках сложившейся городской застройки, должны быть выделены опасные зоны, границы подземных и наземных сооружений и коммуникаций. Пути движения монтажных механизмов и места складирования материалов назначаются с учетом местных условий с обеспечением схем безопасного движения транспорта и пешеходов.
Наряд-допуск составляется руководителем работ на основании письменного разрешения организации, эксплуатирующей ВЛ ПАО «МТС».
Допуск к работе по нарядам производится не посредственно на рабочем месте. Он выполняется после подготовки рабочих мести проверки осуществления предусмотренных технических мероприятий, в первую очередь наложения заземлений.
Проверка производится ответственным лицом путем личного осмотра.
Перед допуском по именным удостоверениям проверяется соответствие состава бригады указанному в наряде; проводится инструктаж, включая ознакомление бригады с содержанием наряда, указание границ рабочего места и показ частей, к которым не допускается приближаться независимо от того, находятся они под напряжением или нет, показываются бригаде установленные заземления или проверяется отсутствие напряжения.
При допуске производится также инструктаж о мерах по безопасному ведению работ, включая их технологию, использование приспособлений, инструмента, механизмов и раскаточных машин, их заземлению и закреплению.
Заземление ВЛ после ее отключения производится персоналом эксплуатирующей организации во всех РУ и у секционирующих коммутационных аппаратов, где отключена линия.
При заземлении проводов отключенной ВЛ на месте производства работ, т.е. на монтируемом участке, наложение и снятие заземления с проводов должно выполняться с помощью переносных заземлений.
Проверки исправности заземляющих устройств должны осуществляться в соответствии с действующими НД.
Заземлению при производстве строительно-монтажных работ подлежат все металлические конструкции, элементы ВЛ, механизмы, оборудование и оснастка, находящиеся в зоне влияния и изолированные от земли. Прикасаться к отключенным, но не заземленным токоведущим частям без средств защиты не допускается.
Машины и механизмы на пневмоколесном ходу, находящиеся в зоне влияния электрического поля, должны быть заземлены. При их передвижении в пределах охранной зоны линии, находящейся под напряжением, для снятия наведенного потенциала следует применять металлическую цепь, присоединенную к шасси или кузову и касающуюся земли.
При работе грузоподъемных машин (в стационарном положении) они должны быть дополнительно заземлены переносным заземлением, соединенным с инвентарным заземлителем.
Выбор необходимых средств защиты регламентируется соответствующими нормами и правилами, а также определяется местными условиями на основании требований этих документов.
Производство работ по монтажу ОКСН в пролетах пересечений с действующими линиями без отключения последней допускается только в том случае, если линия, на которой производятся работы, проходит под проводами линии, находящейся под напряжением.
При прохождении линии над действующей ВЛ или контактной сетью последние должны быть отключены и заземлены.
Допуск ответственного исполнителя каждой бригады строительно-монтажной организации к работам в пролете пересечения с действующими ВЛ осуществляется допускающими из персонала эксплуатационного предприятия.
Эксплуатационное предприятие отвечает за предотвращение подачи рабочего напряжения на пересекаемые ВЛ, над которыми ведутся монтажные работы.
При работе в зоне влияния необходимо соблюдать допустимые расстояния до элементов ВЛ, находящихся под напряжением.
Машины и механизмы на пневмоколесном ходу, находящиеся в зоне влияния электрического поля, должны быть заземлены.
При работе с опоры на двух цепной ВЛ при отключенной одной цепи настойке опоры должен вывешиваться красный флажок со стороны цепи, находящейся под напряжением, на высоте 2-3 м от земли.
Подниматься на опору со стороны цепи, находящейся под напряжением, а также переходить на участки траверс, поддерживающих эту цепь, не допускается.
Требования по охране труда, предъявляемые к производственным помещениям и производственным площадкам:
- при невозможности установки заграждений для ограничения доступа работников в зоны повышенной опасности ответственный исполнитель (производитель) работ должен осуществлять контроль места нахождения работников и запрещать им приближаться к зонам повышенной опасности.
- во время перерывов в работе технологические приспособления, инструмент, материалы и другие мелкие предметы, находящиеся на рабочем месте, должны быть закреплены или убраны.
Требования к применению систем обеспечения безопасности работ на высоте
- работодатель в соответствии с типовыми нормами выдачи СИЗ и на основании результатов оценки условий труда обеспечивает работника системой безопасности работ на высоте, объединяя в качестве элементов, компонентов или подсистем совместимые СИЗ от падения с высоты.
- работодатель обеспечивает регулярную проверку исправности систем обеспечения безопасности работ на высоте в соответствии с указаниями в их эксплуатационной документации, а также своевременную замену элементов, компонентов или подсистем с понизившимися защитными свойствами.
- в качестве привязи в страховочных системах используются страховочная привязь.
- для уменьшения риска травмирования работника, оставшегося в страховочной системе после остановки падения в состоянии зависания, план эвакуации должен предусматривать мероприятия и средства (например самоспасения), позволяющие в макимально короткий срок (не более 10 минут) освободить работника от зависания.
- работники, выполняющие работы на высоте, обязаны пользоваться защитными касками с застегнутым подбородочным ремнем. Внутренняя оснастка и подбородочный ремень должны быть съемными и иметь устройства для крепления к корпусу каски. Подбородочный ремень должны регулироваться по длине, способ крепления должен обеспечивать возможность его быстрого отсоединения и не допускать самопроизвольного падения или смещения каски с головы работающего.
- работники без положенных СИЗ или с неисправными СИЗ к работе на высоте не допускаются.
Специальные требования по охране труда, предъявляемые к производству работ на высоте
- при перерывах на работах на протяжении рабочей смены (например, на обед, по условиям работы) члены бригады должны быть удалены с рабочего места (с высоты), компоненты страховочных систем убраны, а канаты системы канатного доступа либо подняты, либо обеспечена невозможность доступа к ним посторонних лиц. Члены бригады не имеют права возвращаться после перерыва на рабочее место без ответственного исполнителя работ. Допуск после такого перерыва выполняет ответственный исполнитель работ без оформления в наряде-допуске.
- Для обеспечения безопасности при перемещении (поднимающегося/спускающегося) по конструкциям и высотным объектам работника вторым работником (страхующим) должно быть оборудовано независимое анкерное устройство, к которому крепится тормозная система с динамическим канатом. Один конец каната соединяется со страховочной привязью поднимающегося/опускающегося работника, а второй удерживается страхующим, обеспечивая надежное удержание первого работника без провисания (ослабления) каната.
- при подъеме по элементам конструкций в случаях, когда обеспечение безопасности страхующим осуществляется снизу, поднимающийся работник должен через каждые 2 – 3м устанавливать на элементы конструкции дополнительные анкерные устройства с соединителями и пропускать через них канат.
- При обеспечении безопасности поднимающегося/спускающегося работника работник, выполняющий функции страхующего , должен удерживать страховочный канат двумя руками, используя СИЗ рук.
Требования по охране труда к применению лазов монтерских
- Монтерские когти должны соответствовать установленным требованиям и предназначаются для работы на деревянных и деревянных с железобетонными пасынками опорах линий электропередачи и связи, на железобетонных опорах воздушных линий электропередачи (ВЛ), а также на цилиндрических железобетонных опорах диаметром 250мм ВЛ.
Требования по охране труда к оборудованию, механизмам, ручному инструменту, применяемым при работе на высоте
- Оборудование, механизмы, ручной механизированный и другой инструмент, инвентарь, приспособления и материалы, используемые при работе на высоте, должны применятся с обеспечением мер безопасности, исключающих их падение (размещение в сумках и подсумках крепление, страповка, размещение на достаточном удалении от границы перепада высот или закрепление к страховочной привязи работника).
- Инструменты, инвентарь, приспособления и материалы весом более 10 кг должны быть подвешены на отдельном канате с независимым анкерным устройством.
Требования по охране труда при работах на высоте с применением грузоподъемных механизмов и устройств, средств малой механизации
- Выполнение работ с люлек строительных подъемников (вышки) и фасадных подъемников в соответствии с осмотром рабочего места осуществляется с использованием удерживающих систем или страховочных систем.
СПИСОК НОРМАТИВНОЙ ЛИТЕРАТУРЫ
1. СП 48.13330.2019 Организация строительства.
2. ГОСТ 12.1.046-85 ССБТ. Строительство. Нормы освещения строительных площадок
3. ГОСТ 12.4.010-75* ССБТ. Средства индивидуальной защиты. Рукавицы специальные. Технические условия.
4. РД 45.156-2000. Состав исполнительной документации на законченные строительством линейные сооружения магистральных и внутризоновых ВОЛП.
5. СНиП 12-03-2001 и СНиП 12-04-2002. Техника безопасности в строительстве. Правила производства и приемки работ.
6. СП 76.13330.2016 «Электротехнические устройства».
7. СП 77.13330.2016 «Системы автоматизации».
8. ПУЭ. Правила устройства электроустановок. Издание седьмое. Разделы 1, 6, 7.
9. Правила устройства электроустановок, Главгосэнергонадзор России, 1998 год, изд. 6 с исправлениями 2000 года и дополнениями 2002 года.
10. ППБ-01-03. Правила пожарной безопасности в РФ.
11. «Правила по охране труда при эксплуатации электроустановок», ПОТЭЭ 2014.
12. Приказ №533 Ростехнадзора от 12.11.2013г. «Правила безопасности опасных производственных объектов на которых используются подъёмные сооружения».
13. ГОСТ 12.1.046-85 ССБТ. Строительство. Нормы освещения строительных площадок
14. ГОСТ 12.4.010-75* ССБТ. Средства индивидуальной защиты. Рукавицы специальные. Технические условия.
15. Правила противопожарного режима в РФ (Постановление правительства РФ от 24.04.2012 №390).
16. Правила по охране труда при выполнении электросварочных и газосварочных работ (Приказ Минтруда России от 23.12.2014 №1101).
17. Правила по охране труда при погрузочно-разгрузочных работах и размещении грузов (Утв. Приказом министерства труда и социальной защиты РФ от 17.09.2014г. №642н).
18. Правила по охране труда при работе с инструментом и приспособлениями (Утв. Приказом от 17.08.2015г. №552н).
19. Инструкция по оказанию первой помощи при несчастных случаях на производстве (2007г).
20. Правила по охране труда при работах на высоте (Утв. Приказом Министерством труда и социальной защиты РФ от 28.03.2014 г. №155н).
21. Пожарная безопасность зданий и сооружений (с Изменениями N 1, 2 ) зарегистрирован Росстандартом в качестве СП 112.13330.2011.
Изделия для монтажа троссовых проводок


Серьга К1016У3 служит для крепления каната к металлоконструкциям, балкам и перекрытиям для тросовой электропроводки. Серьга крепится между уголками металлических ферм между плитами перекрытий поворотом и заклиниванием в щели. Диаметр троса до 8 мм. Допустимая нагрузка 1,2кН.
Материал изготовления:сталь с металлическим покрытием Технические условия: ТУ 34-1445-82 Климатическое исполнение: УЗ
Анкер К675 М служит для крепления тросов (диаметр 6-8 мм) к строительным металлоконструкциям зданий. Закрепляется анкер К-675 М при помощи сварки и болтов. Допустимая нагрузка — 16 кН.
Материал изготовления:сталь с металлическим покрытием Технические условия: ТУ 34-1445-82 Климатическое исполнение: УЗ
Анкер проходной К-809 служит для крепления тросов (диаметр до 10 мм) к строительным металлоконструкциям, стенам зданий. Закрепляется анкер К-809 при помощи сварки и болтов. Допустимая нагрузка — 16 кН.
Материал изготовления:сталь с лакокрасочным покрытием Технические условия: ТУ 34-1445-82 Климатическое исполнение: УЗ Масса:— 1,51 кг
Муфта натяжная К-798, К-804, К-805 — служит для натяжения троса (диаметр 2-8 мм) при тросовой электропроводке. Конструкция муфты натяжной: корпус, крюк и винт с гайкой. Крюк крепит муфту к проходному анкеру К809, анкеру К675, серьге К1016 УЗ и др.. Натяжение троса осуществляется вращением корпуса муфты вокруг винта.
Материал изготовления:сталь с металлическим покрытием Технические условия: ТУ 34-1445-82 Климатическое исполнение: УЗ
| Тип | Допустимая нагрузка (Р), Н | Ход винта, (L1-L) | Размеры | Масса | |||
| L | L1 | A | d | ||||
| Муфта К-798 У3 | 1200 | 50 мм | 150 мм | 200 мм | 13 мм | 6 мм | 0,094 кг |
| Муфта К-804 У3 | 5000 | 100 мм | 265 мм | 365 мм | 20 мм | 12 мм | 0,55 кг |
| Муфта К-805 У3 | 16000 | 300 мм | 550 мм | 850 мм | 27 мм | 20 мм | 3,47 кг |
Колпачки К5А, К6А
Колпачки К5А, К6А служат креплением изоляторов на крюки КВ-22А воздушных линий электропередач напряжением до 1000 В. Колпачки К5А, К6А закрепляют изолятор без дополнительного уплотнения обеспечивая надежное соединение.
Материал изготовления:пластмасса Технические условия: ТУ 36-1438-85 Климатическое исполнение: УХЛ1
| Тип | Размеры, мм | Допустимые нагрузки, Н | Масса 1000шт., кг | ||||
| H | d | D1 | D2 | вдоль оси | перпендикулярно оси | ||
| Колпачки К-5А | 35 | 24 | 26,1 | 18 | 300 | 4000 | 9,3 |
| Колпачки К-6А | 43 | 32,5 | 35,9 | 22 | 735 | 2000 | 21,0 |
Коробки троссовые У230, У231
Коробки троссовые У230, У231 служат распределителем магистральных линий от тросовых проводок. Выполнение 3-х или 4-х жильным кабелем. Возможно присоединение до 3 электроприемников и подвешивания светильников до 5 кг, с напряжением до 380 В.
Материал изготовления: сталь с лакокрасочным покрытием Технические условия: ТУ 36-1908-83 Климатическое исполнение: УЗ
| Тип | Сечение проводов, мм2 | Способ закрепления проводов на тросе | Способ присоединения светильника | Масса, кг | |
| магистральных | ответвительных | ||||
| Коробки троссовые У230 | 4-10 | 1,5-2,5 | С помощью анкера | К зажимам коробки | 1,54 |
| Коробки троссовые У231 | 16-35 | 1,5-4,0 | 2,10 |
Коробки троссовые У245, У246
Назначение: Коробки троссовые У245, У246 служат распределителем магистральных осветительных линий. Возможно подвешивание светильников до 5 кг, с напряжением до 380 В. Материал изготовления: сталь с лакокрасочным покрытием Технические условия: ТУ 36-1460-2003 Климатическое исполнение: УЗ
| Тип | Сечение магистральных проводов мм2 | Сечение ответвительных проводов мм2 | Способ закрепления на тросе | Способ присоединения светильника | Количество сжимов | Масса, кг |
| Коробки тросовые У245 | 4-10 | 1,5-2,5 | с помощью скобы | к ответвительным сжимам | 2 | 0,54 |
| Коробки тросовые У246 | 16-35 | 1,5-4,0 | 7 | 1,16 |
Коробка У256, У257
Коробка У256, У257 служит для присоединения одного или двух светильников к осветительной сети.Присоединение осуществляется с помощью вилки и штепсельной розетки 10А 250В ГОСТ 7396. 0-89. Сечения магистральных проводников — до 25, ответвительных — до 4 мм2.
Технические условия: 36 -1460-82.
Климатическое исполнение: УЗ, ТЗ
| Тип | Сечение магистральных проводов, мм2 | Сечение ответвительных проводов, мм2 | Масса, кг |
| Коробка У256 | до 25 | до 4 | 1,52 |
| Коробка У257 | 1,27 |
Монтаж тросовых электропроводок


Чтобы электрифицировать отдельно стоящие постройки, провести кабель с его вкапыванием, протягиванием по земле, используется метод воздушного монтажа сети с усилением тросами.
Такая электропроводка будет надежной за счет закрепления на натяжные, поддерживающие опоры в виде натянутого троса или струны, но ее монтаж подразумевает работы на высоте, точное следование правилам техники безопасности. Для надежности применяют стальной трос.
Что собой представляет тросовая электропроводка
Тросовая электропроводка – это установка, выполненная специальными проводами со стальным несущим тросом. К ним протягиваются и закрепляются проводки из установочных изолированных проводов и кабелей.
Проводники свободно подвешены или жестко закреплены на поперечных или продольных стальных несущих тросах. Эти канаты натягиваются между строениями, надежно закрепляются на строительных элементах зданий промежуточными и концевыми крепежами.
В каких условиях используется
Тросовые электропроводки применяются в местах, где нужно смонтировать подвесные осветительные установки: освещения открытых складов, площадок для автотранспорта, галерей, эстакад, спортивных комплексов.
Если в промышленных помещениях возможно передвижение мостовых кранов, типовые проекты тросовой проводки протягивают в свободных от техники местах, где нет риска повреждения.
Такая электрификация применяется при установке наружного освещения улиц, площадей, дворов, пожароопасных помещений, наружных установок, отдельно стоящих хозяйственных, животноводческих строений. Используется в быту, на производстве, особенно в сельской местности.
Разновидности
Тросовые проводки бывают струнными, в них канат кабеля подвешивается на натянутую проволоку (струну) или трос. Он прикрепляется вплотную к стене или выступам с помощью промежуточных и концевых крепежных элементов и конструкций.
При большом расстоянии между строениями по прямой и наличии кабеля достаточной длины струнные проводки экономичнее, так как не требуют промежуточных подвесов. Тросовые и струнные проводки часто совмещаются, особенно при монтаже наружных линий электропередач.
Достоинства и недостатки
Такие проводки не требуют трудоемких пробивных работ. Установку нужно закрепить с помощью небольшого количества крепежных конструкций.
Все элементы, крепления монтажа изготавливают и собирают на заводах или в подсобных мастерских с дальнейшей их установкой на месте.
Минус такой электрификации – работы на высоте, а для этого нужно специальное монтажное оборудование и соблюдение техники безопасности.
Требования к тросовой проводке
Для надежности конструкции проводки струнного или тросового типа важен вес всех элементов. Количество крепежных элементов точно рассчитывается, используются рекомендуемые кабели и тросы. Монтаж тросовых электропроводок на дальние расстояния проводят на специальных тросовых подвесках.
Выбор кабеля
Тросовые проводки монтируются специальными проводами, в которые встроен несущий трос, изолированные провода с жилами любого сечения, легкие небронированные кабели сечением до 16 мм. Если планируется одновременно подвесить несколько проводов, количество жил не должно превышать 3–4 шт.
Возможен монтаж линий электропередач с участками кабелей с большим количеством жил и сечением 16–240 мм по конструктивному принципу.
Выбор троса
В качестве несущего троса используют стальную оцинкованную проволоку, сплетенную в канаты с поперечным сечением 1,95–6,5 мм.
Экономичнее железная проволока с цинковым или лакокрасочным покрытием, катанки с поперечником 5,5–8 мм.
Для заземления рационально использовать железные неизолированные провода с одной или многими жилами.
Как сделать
Технология монтажа тросовых электропроводок осуществляется в два этапа: подготовительный (заготовительный), монтаж.
Для расчета количества материала, заготовок, всех необходимых крепежей и вспомогательных элементов необходима технологическая карта на монтаж, разработанная специалистами на основе требований нормативной документации.
Используемые материалы
Для начала подбирается трос, диаметр которого зависит от нагрузки, длины висящей в воздухе конструкции.
Для формирования петель на концах струны понадобятся зажимы (замки), которые подбираются под диаметр троса.
Для закрепления несущей проволоки используются болты-анкеры с крюками или кольцами. Кабель или провод закрепляют на тросе пластиковыми хомутами-стяжками или соединениями из монтажной пены. Расстояние между ними должно быть не больше 60 см.
Если надо защитить электропроводку от воздействия окружающей среды и необходима прокладка небронированных кабелей, их продевают в гофрированную трубу нужного диаметра.
Инструменты для монтажа
Для монтажа нужны: дрель-перфоратор, клещи, кусачки, плоскогубцы, длинная рулетка. Если планируется концевая петля с помощью гильзы, нужен ручной или электрический пресс.
Для натяжения каната с большими весом и протяженностью применяют специальное устройство – талреп.
Если стены сооружений металлические, анкеры лучше всего приваривать по всему периметру. Для этого понадобится сварочный аппарат, а также навыки работы с ним.
Последовательность работ
Установка тросовой электропроводки проводится в две стадии.
На подготовительном этапе изготавливают элементы электропроводки, анкерных, натяжных и поддерживающих устройств.
Отмеряется длина, формируется концевая петля на несущем тросе с применением коуша или болтовых зажимов. Трос надевают на коуш. На конце крепят клипсу-зажим. Еще одну клипсу устанавливают как можно ближе к петле. Затем между первым и вторым монтируют еще клипсы, количество которых зависит от натяжения троса, его длины и массы проводов, которые будут на нем висеть.
Вместо болтовых зажимов можно использовать опрессовку гильзами. Для этого петлю продевают в гильзу, чтобы она выходила с другого конца на несколько сантиметров.
Специальным инструментом сначала спрессовывают ее посередине, а затем прижимают концы. Проверить качество соединения можно шаблонами.
Если под руками нет необходимого инструмента и комплектующих, можно произвести вплетение конца троса в его основную часть особым образом. Стальной канат из проволоки оконцовывают петлями без зажимов простым закручиванием по спирали на длину 60–80 мм. Есть специальные наконечники, которые устанавливаются опрессовкой и не подразумевают образование петли.
Когда концы сформированы, монтируют соединительные и вводные коробки, ответвления к светильникам и другим электрическим приборам, прикрепляют провода и кабели.
На втором этапе – монтаж к строительным конструкциям. Самые надежные – анкерные способы крепления проводов и кабелей сквозными болтами, с обратной стороны которых ставятся увеличенные квадратные шайбы. Менее надежны крепления вмазными шпильками или распорными дюбелями. Такие крепежи полностью зависят от точности проведения работ и сверления отверстий с дальнейшим их заделыванием.
Для монтажа на металлические конструкции применяют метод сварки или болтового соединения. К деревянным стенам трос прикрепляют металлическими шурупами с крюком.