- Статья
- Видео
Принцип действия
Работа защитного зануления и защитного заземления отличаются тем, что при занулении, если на корпусе оборудования появляется опасный потенциал, то может случиться короткое замыкание. Под действием тока короткого замыкания в несколько раз большего по значению, чем номинальный ток сети, срабатывает предохранитель или другой защитный аппарат. При защитном заземлении поражающее действие электрического тока нейтрализуется снижением величины напряжения прикосновения (и напряжения шага) до безопасного значения. Поврежденный бытовой электроприбор или электрооборудование, не имеющие защитных зануления или заземления, могут долгое время находиться под напряжением и стать опасными для человека в момент касания или при приближении к оборудованию на опасное расстояние.


Как сказано выше, при попадании фазы на корпус прибора, который выполнен из металла и соединен с нулевым защитным проводником, происходит короткое замыкание. Величина тока короткого замыкания больше в несколько раз величины номинального тока. Под его воздействием срабатывают аппараты защиты. Вследствие этого отключаются электрические линии, подключенные через защитный аппарат.
Площадь сечения проводников следует выбирать исходя из требований соответствующих глав ПУЭ. Для защитных проводников ПУЭ (п. 1.7.5) определяет зависимость их сечения от сечения фазных проводников. Так для площадей сечений проводников фазы, меньших 16 мм2, размер площади сечения защитного проводника равен площади сечения защитного проводника. Если площадь сечения фазного проводника находится в диапазоне от 16 до 35 мм2, то площадь сечения защитного проводника равна 16 мм2 и если площадь сечения фазного проводника больше 35 мм2, то площадь защитного проводника выбирается в 2 раза меньше. Также площадь сечения можно рассчитать самостоятельно на основании этого же пункта ПУЭ. Главное условие выбора — обеспечить быстродействие, которое рассчитывается по формуле:
S≥ I*√t/k,
В этой формуле отражена прямая зависимость значения площади поперечного сечения защитного проводника (S) от значения тока короткого замыкания, при котором обеспечивается быстродействие защитных аппаратов в соответствии с табл.1.7.1 ПУЭ и 1.7.2 ПУЭ или за время не более 5 с в соответствии с 1.7.79 ПУЭ и значения времени срабатывания защитного аппарата (t). Обратная зависимость от значения коэффициента, который определяется материалом защитного проводника, его изоляции, начальной и конечной температурами проводника. Значение k для защитных проводников в различных условиях даны в табл.1.7.6-1.7.9 ПУЭ.
Схема ниже повторяет ранее указанный принцип действия и применение системы защитного зануления.


Назначение такого устройства обеспечить быстрое отключение неисправного электрооборудования от электропитания, тем самым нейтрализовать поражающее действие электрического тока при касании человеком неисправного прибора.
Схема работы системы зануления в случае пробоя изоляции, изображена ниже:


Узнать, в чем разница между занулением и заземлением, вы можете из нашей статьи!
Область применения
Защитное зануление применяется в трехфазных сетях переменного тока и однофазных сетях переменного и постоянного тока, уровень напряжения которых до 1000 В.
Если электрическая сеть трехфазная переменного тока и уровень напряжения составляет 660/380В, 380/220В или 220/127В, то заземляется нулевой проводник — сеть типа TN.
Если сеть однофазная переменного тока, то защитное зануление применяется при условии, что заземлен вывод сети.
Если сеть однофазная постоянного тока, то защитное заземление используется, если заземлена средняя точка источника электрической энергии.
Защитное зануление может выполняться как с помощью РЕ проводников, так и с помощью совмещенного РЕN проводника. Применение того или иного вида защитного зануления зависит от того, какая система заземления используется в электроустановке и какой величины площадь сечения питающих кабелей.
Согласно п 1.7.131 ПУЭ, может объединяться функционал нулевого защитного и нулевого рабочего проводников при условии, что они используются в многофазных цепях в системе TN и проложены стационарно. При этом должны соблюдаться требования по обеспечению площади поперечного сечения жил проводников, изготовленных из разных материалов. Жилы медных кабелей должны иметь площадь поперечного сечения не менее 10 мм2, жилы алюминиевых кабелей — не менее 16 мм2.
П.1.7.132 ПУЭ запрещает в цепях однофазного и постоянного тока совмещать функционал нулевого защитного и нулевого рабочего проводников. Для защитного зануления используется отдельный третий проводник — исключением является ответвление от ВЛ напряжением до 1 кВ к однофазным потребителям электроэнергии.
Назначение
Защитное зануление применяется в качестве защиты от поражения электрическим током при эксплуатации электрооборудования различного назначения — бытового, производственного.


На рисунке выше нулевой защитный проводник системы TN-S обозначен PE. Показана токопроводящая цепь, соединяющая открытые токопроводящие поверхности и глухозаземленную нейтральную точку на источнике питания в трехфазной сети. Данная схема отражает назначение защитного нулевого проводника при заземлении нулевого защитного проводника в системе TN-S, когда применяется отдельный защитный проводник.
Если зануление применяется в системе TN-C, то схема будет выглядеть следующим образом:


В этом случае нулевой рабочий и нулевой защитный проводники объединены в одном PEN-проводнике.
А в этой трехфазной сети нулевой защитный проводник РЕ отделен от PEN проводника на вводе в электроустановку:


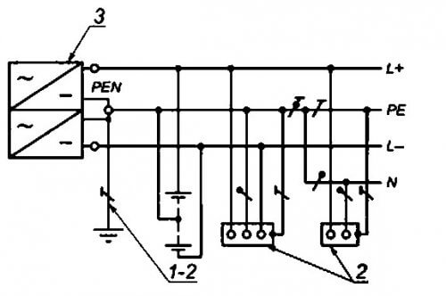
В системе постоянного тока заземляется средняя точка источника — рисунок ниже:


1 — заземлитель нейтрали (средней точки) в сети постоянного тока; 2 — открытые токопроводящие элементы сети; 3 — источник питания постоянного тока.
Во всех рассмотренных случаях защитный нулевой проводник выполняет защитную функцию, а в случае совмещения с рабочим проводником N в системе TN-C и функцию рабочего нулевого проводника.
Рекомендуем напоследок просмотреть полезное видео по теме:
Вот мы и рассмотрели устройство, принцип действия и назначение защитного зануления. Надеемся, теперь вам понятно как работает данная система и для чего она нужна.
Будет полезно прочитать:
- Как измерить сопротивление петли фаза-ноль
- Что опаснее — переменный или постоянный ток
- Что делать, если в ванной бьет током