- Статья
- Видео
Повторное заземление ВЛИ — это преднамеренное соединение нулевого провода с заземляющим устройством в в электроустановках до 1 кВ, которое может иметь электрическую связь с заземляющим устройством источника электропитания. ВЛИ представляет собой воздушную линию на опорах из железобетона или дерева с самонесущими изолированными проводами (СИП). Ниже мы расскажем читателям сайта Сам Электрик, как правильно сделать повторное заземление воздушных линий электропередач и для чего это нужно.
Виды опор
Деревянные
Деревянные опоры применяются в настоящее время ограниченно, основном в малонаселенных пунктах. Они обладают такими преимуществами, как низкая себестоимость изготовления и простота установки, легкий вес, высокая устойчивость к нагрузкам. К тому же древесина является хорошим диэлектриком, что увеличивает безопасность эксплуатации. К недостаткам деревянных опор можно отнести необходимость подбора бревен для одной ВЛ с одинаковыми диаметрами для обеспечения одинакового распределения нагрузки, высокую подверженность механическим повреждениям и быстрому износу древесины при эксплуатации. Чтобы устранить негативное влияние окружающей среды и уменьшить процессы гниения, деревянные опоры пропитывают или покрывают специальными составами.
Изготавливают опоры из дерева хвойных пород. Диаметр бревен и длина подбирается по классу опоры. Классификация опор составлена таким образом, бревно определенного диаметра верхнего торца и определенной длины должны иметь соответствующий вес или объем. Деревянные опоры могут относиться к классу L, M или S
Опоры для ВЛ до 1 кВ должны иметь диаметр не менее 14 см. Высота опор — от 6 до 13 метров. В зависимости от класса древесины и ее кубатуры опоры могут весить от 180 до 350 кг.


Железобетонные
Железобетонные опоры более прочные и устойчивые, чем деревянные. Срок их износа существенно больше, чем у деревянных опор, поэтому они получили наибольшее распространение при строительстве ВЛ разного уровня напряжения.
Железобетонные опоры производят из армированного бетона, перед изготовлением их рассчитывают в зависимости от того, какую роль будет выполнять опора в воздушной линии. Требования по распределению нагрузки устанавливаются ГОСТ И ПУЭ.
Классифицируются железобетонные опоры в следующем порядке:
- специальные — предназначены для определенных условий: климатических, при переходах через препятствия, при пересечениях ВЛ и других;
- концевые — устанавливаются в конце ВЛ;
- угловые — используют на поворотах ВЛ;
- анкерные — осуществляют натяжение проводов на прямых участках;
- промежуточные — поддерживают, но не натягивают провода.
Применяются железобетонные опоры во всех ВЛ — как с обычными проводами, так и с СИП.
На фото ниже показан внешний вид железобетонной опоры.


Используются такие ЖБ конструкции:
- CВ 105;
- CВ 110;
- CВ 95;
- CВ 85.
Для того чтобы осуществлять вторичное заземление PEN проводника, с двух сторон опоры приваривают арматуру. Это делается для выполнения требований ПУЭ (п. 2.4.40, см. Главу 2.4): «РЕN-проводник следует присоединять к арматуре железобетонных стоек и подкосов».
Назначение повторного заземления
Повторное заземление ВЛИ нужно для того, чтобы обеспечить нормальную электробезопасность при эксплуатации ВЛ. Согласно п. 2.4.38 ПУЭ «На опорах ВЛ должны быть выполнены заземляющие устройства, предназначенные для повторного заземления, защиты от грозовых перенапряжений, заземления электрооборудования, установленного на опорах ВЛ. Сопротивление заземляющего устройства должно быть не более 30 Ом».
Если в системе электроснабжения установлена трансформаторная подстанция с глухозаземленной нейтралью, то для того, чтобы обеспечить требуемую электробезопасность требуется создать электрическую связь с заземлением по всей системе. Для опор выполняется повторное заземление нулевого провода — таким образом обеспечивается надежная связь РЕN проводника с заземляющим устройством. Схема выглядит следующим образом:


В ПУЭ указывается, что повторное заземление ВЛИ означает погружение в грунт PEN или РЕ проводника в воздушной электрической линии с изолированными проводами.
Важно! Повторный заземляющий контур осуществляется на подпоре без вводного приспособления или вводного щитка (ВЩ). Оно присоединяется к вводному автомату или к совместному рубильнику.
Защитный и рабочий нулевые провода подключаются вверху ЖБ (железобетонного столба) к арматурному выпуску. Если есть подкосной столб, то присоединять необходимо и к нему, а не только к основному.
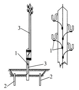
На фото ниже изображено, как нужно соорудить повторное заземление ВЛИ основного проводника с использованием прокалывающего зажима на проходном столбе, без отвода. Осуществлять подобное необходимо на каждой третьей опоре ВЛ и на столбе, который ведет к жилому зданию.


На опорах при монтаже может быть сделан заземляющий спуск из проволоки или катанной стали. Он также может отсутствовать. На рисунке ниже показана конструкция опоры с заземляющим спуском.


- 1 – место сварки;
- 2 – заземлители;
- 3 — спуск.
Как правило, он изготавливается из металлической проволоки. Все это прикрепляется к штыревому электроду, который вбивается в грунт. В случае если проволока больше по диаметру, чем 6 мм, то желательно чтобы он был сделан из оцинкованного металла, а если меньше 6 мм – из черного металла с нанесенным антикоррозийным средством.
Согласно правилам устройства электроустановок, если на деревянной конструкции было выполнено повторное заземление PEN-проводников, то необходимо заземлить полностью все штыри и крюки опоры из металла. Если же на столбе из дерева или железобетона не организовывают повторный заземляющий контур, то ничего делать не нужно (ПУЭ 2.4.41).
Электрооборудование из металла, которое находится на опорах, в обязательном порядке должно заземляться индивидуальными проводами. Это такое оборудование как щиты ВУ, молниезащита или защита от высокого напряжения. В случае ТП с глухозаземленной нейтралью сопротивление вторичного заземлителя должно быть 30 Ом или меньше.
Учтите! Для частного жилья повторная защита PEN-проводников ВЛИ не освобождает от установки специального заземляющего контура. О том, как сделать заземление в доме своими руками, мы рассказывали в соответствующей статье!
Полезные рекомендации
Если необходимо сделать повторное заземление ВЛИ от трансформаторной подстанции до жилого помещения на расстояние 800 м, его следует выполнить в следующих местах:
- на столбах ВЛ, которые размещаются возле трансформаторной подстанции и возле дома;
- на анкерных столбах ВЛ;
- на опоре с дистанцией 100 метров от основной опоры, имеющей заземление.
Также рекомендуем просмотреть видео, на котором показывается, как сделать повторное заземление, а точнее — без особых проблем забить штыри в землю:
Полезное по теме:
- Причины потерь электроэнергии в воздушных линиях
- Как сделать громоотвод своими руками
- Какие бывают системы заземления