- Статья
- Видео
Обычный клавишный выключатель
Вначале необходимо получить доступ к клеммам. Для этого, в зависимости от его конструкции, нужно либо просто снять наружную крышку, либо, ослабив распорный крепеж, вынуть корпус из гнезда, не отсоединяя провода, как показано на фото ниже:


Проверка мультиметром
Тестер устанавливаем в режим измерения сопротивления. Отключаем автомат, от которого питается свет. Соединяем измерительные провода прибора с клеммами выключателя. Производим замер сопротивления. В положении «включено», сопротивление должно быть равно нулю, в положении «отключено» — бесконечности. В противном случае, следует демонтировать выключатель для ремонта или замены.
Если нет мультиметра под рукой, проверить работоспособность можно также вольтметром. Включаем прибор в режим измерения переменного сетевого напряжения. Отключив питание, «садимся» на клеммы. Включаем автомат питания и производим замер напряжения. При этом, в светильнике должна быть вкручена хотя бы одна исправная лампа. В положении «отключено» прибор должен показать сетевое напряжение, т.е. около 220 В. Если в этом режиме напряжение отсутствует, причина неисправности находится вне выключателя. В положении «включено» напряжение на клеммах должно исчезнуть. Если этого не произошло – причина в контактах.
На видео наглядно показано, как проверить двухклавишный выключатель света мультиметром:
Использование индикаторной отвертки
Нужно проверить индикатором наличие фазы на клеммах, когда клавиша в отключенном положении. Автомат, питающий свет, естественно должен быть включен. Напряжение должно быть только на одной клемме. Отсутствие напряжения на обеих клеммах говорит о том, что причина не в выключателе. Затем нужно включить свет и проверить индикатором вторую клемму. Здесь возможны два варианта, в зависимости от того, нулевой или фазный провод разрывается выключателем.
Вариант 1. На разрыв, как и положено, проходит фазный провод, нулевой провод напрямую заведен в светильник. В этом случае, когда выключатель включен, напряжение присутствует на обеих клеммах. Если этого не происходит – он неисправен.
Вариант 2. На разрыв заведен ноль, фаза «дежурит» на лампе (лампах). В этом варианте, если включить свет, проверка индикатором покажет отсутствие напряжения на обеих клеммах. Если напряжение остается на одной из клемм, как до включения – выключатель неисправен. Кстати, разрыв нулевого провода и прокладка фазы напрямую к светильнику считается грубой ошибкой, которая чревата поражением электрическим током при замене лампочки или ремонте люстры. Остальные ошибки при монтаже электропроводки мы рассмотрели в отдельной статье!
Проверка лампочкой
О том, как сделать контрольную лампу, мы также рассказывали. Вкручиваем лампочку в патрон, из которого выведено два изолированных провода. Концы проводов зачищаем от изоляции на 5 – 10 мм. Включаем автомат, питающий свет. Аккуратно прикасаемся зачищенными концами проводов к клеммам выключателя (один провод к одной клемме, второй – к другой). Если клавиша в положении «отключено», лампа должна загореться не в полный накал, так как в данном случае, она включена последовательно с лампами освещения. Ее яркость зависит от соотношения ее мощности и суммарной мощности ламп в светильнике. Ели в этом режиме свет не зажигается, причина не в выключателе. Включаем свет и вновь прикасаемся проводами к клеммам. Если наша лампа не зажглась – выключатель исправен, если свет лампы такой же, как и в положении «отключено», причина неисправности в нем.
Более подробно ремонт выключателя света мы рассмотрели в отдельной статье, с которой настоятельно рекомендуем ознакомиться!
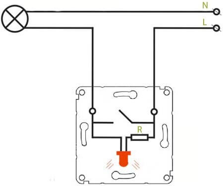
Модель с подсветкой
Встречаются выключатели света, оборудованные подсветкой. Суть этого устройства заключается в том, что параллельно основным контактам монтируется светодиод с резистором или миниатюрная неоновая индикаторная лампа. Схема такого варианта исполнения показана ниже:


Когда освещение выключено, через лампу (или лампы) освещения и светодиод с токоограничивающим сопротивлением проходит ток. Его величина слишком мала, чтобы зажечь свет лампы, но достаточна для свечения светодиода. Таким образом, свет диода помогает найти кнопку включения света в темном помещении. Когда мы включаем светильник, контакты шунтируют светодиод, он обесточивается и гаснет.
Кроме удобства в эксплуатации, такая схема предоставляет возможность проверить состояние контактов выключателя. Ведь схема подсветки представляет собой аналог той самой контрольной лампы, с помощью которой можно проверить обычный выключатель. Например, если вы нажали на клавишу, свет не зажегся, а светодиод не перестал гореть, значит, контакты не замкнулись.
Диммер
Устройство, регулирующее яркость свечения ламп, называемое диммером. Он позволяет плавно устанавливать комфортный уровень освещенности в помещении. Как правило, современные модели диммеров имеют электронную начинку. При этом, цепь лампы участвует в работе регулятора и при ее перегорании регулятор может не функционировать. Этим обусловлены особенности проверки такого устройства.


На практике, диммер лучше всего проверить следующим образом: отключаем автомат питания, отсоединяем питающие провода от клемм регулятора и соединяем их между собой. Включаем автомат питания. Если при этом свет зажегся – неисправен регулятор. О том, как отремонтировать диммер мы рассказали в отдельной статье!
Бывает, что причиной неисправности диммера является выход из строя предохранителя. На видео ниже наглядно показывается, как проверить предохранитель в регулятора света:
Еще один нередкий случай — плохой контакт на схеме. Методика проверки диммера предоставлена еще на одном видео примере:
Теперь вы знаете, как проверить выключатель света мультиметром, индикаторной отверткой или же лампочкой. Надеемся, предоставленные инструкции помогли вам определить работоспособность устройства самостоятельно!
Будет полезно прочитать:
- Как проверить работоспособность автомата в щитке
- Как подключить диммер к сети
- Как проверить чередование фаз