Номинальная работа релейной аппаратуры, модулей управления, измерительных приборов в силовых цепях энергетических установок обеспечивается с помощью трансформаторов тока. Выбор такого оборудования зависит от многих параметров и значений, помочь познакомится с которыми, осветить общие принципы действия, призвана данная статья.
Важное отличие измерительного трансформатора тока от обычного силового
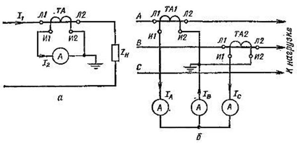
Независимо от сопротивления потребителя (это может быть подключение к электросчетчику, защитному устройству, и прочему) сила тока остается неизменной и зависит только от нагрузки на первичную обмотку.
При размыкании вторичной обмотки трансформатора тока во время работы силовой линии, напряжение на контактах достигнет огромного значения (по закону Ома стремится к бесконечности). В результате могут выйти из строя полупроводниковые приборы измерения. Кроме того, есть риск повреждения изоляции обмотки трансформатора, и поражения персонала электротоком. Поэтому, при отключении счетчика от трансформаторов тока, вторичная обмотка обязательно замыкается накоротко с помощью перемычки «К» (на иллюстрации).
Важно: Для обеспечения безопасности операторов и защиты оборудования, один из контактов вторичной обмотки заземляется («N» на иллюстрации).
Таким подсоединением уравнивается потенциал вторичной обмотки и земли. Работа с приборами учета и контроля становится безопасной для персонала.
Конструктивное исполнение прибора оптимизировано для соединения со счетчиками, поэтому случайное использование трансформатора тока в иных целях исключено.


Можно сказать, что трансформатор тока для счетчика работает по принципу вала отбора мощности на двигателе. Только его использование не несет потери для основной линии электроснабжения.
Описание и принцип действия
Трансформатор тока – электромагнитное преобразовательное устройство, конструктивно, состоящее из:
- цельный магнитопровод;
- две обмотки, обязательно изолированные между собой и от земли (первичная и вторичная);
- пластиковый запаянный неразборный корпус;
- контактные клеммы для подключения прибора для измерений;
- крепежные элементы для монтажа прибора;
- табличка на корпусе, бумажный паспорт.


Обмотки преобразователя делятся между собой на первичную и вторичную, включаются в энергетическую цепь строго по определенным правилам.
Первичная обмотка подключается к электрической цепи последовательно (рассекая токопровод). Вторичная обмотка замкнута на определенную нагрузку измерительных элементов, релейной аппаратуры и автоматики. Она пропускает через себя величину тока, которая пропорциональна токовому значению первичной обмотки.
Принцип действия любого из них основан на законе электромагнитной индукции, действующий в равной степени в электрических и магнитных полях электрических машин и механизмов.
Его суть – преобразование величины тока, протекающего через силовую цепь энергетической установки, к которой подключается первичная обмотка трансформатора тока с определенным количеством витков, во вторичное пониженное значение тока, соблюдая при этом пропорциональность значения.
Эта пропорциональная величина электротока на выходных клеммах вторичной обмотки трансформатора необходима для нормальной работы измерительной, релейной аппаратуры, приборов учета электроэнергии в системах силовых энергетических установках до и выше 1000 вольт.
Прослеживается прямая зависимость номинальной работы всех измерительных систем, приборов контроля и управления от правильного выбора трансформаторов тока.
Выбор трансформаторов тока
Трансформаторы тока выбираются по номинальному напряжению, номинальному первичному току и проверяются по электродинамической и термической стойкости к токам короткого замыкания. Особенностью выбора трансформаторов тока является выбор по классу точности и проверка на допустимую нагрузку вторичной цепи.
- Трансформаторы тока для присоединения счетчиков, по которым ведутся денежные расчеты, должны иметь класс точности 0,5.
- Для технического учета допускается применение трансформаторов тока класса точности 1;
- Для включения указывающих электроизмерительных приборов — не ниже 3;
- Для релейной защиты — класса 10(Р).
Чтобы погрешность трансформатора тока не превысила допустимую для данного класса точности, вторичная нагрузка Z2 не должна превышать номинальную нагрузку Z2ном, задаваемую в каталогах.
Индуктивное сопротивление таковых цепей невелико, поэтому принимают Z2р = г2р. Вторичная нагрузка г2 состоит из сопротивления приборов г приб, соединительных проводов гпр и переходного сопротивления контактов гк:


Для определения сопротивления приборов, питающихся от трансформаторов тока, необходимо составить таблицу — перечень электроизмерительных приборов, устанавливаемых в данном присоединении.
Суммарное сопротивление приборов, Ом, рассчитывается посуммарной мощности:


В РУ 6—10 кВ применяются трансформаторы с /2ном = 5А; в РУ 110 — 220 кВ — 1 или 5 А. Сопротивление контактов ГК принимают 0,05 Ом при двухтрех приборах и 0,10 — при большем количестве приборов. Сопротивление проводов рассчитывается по их сечению и длине. Для алюминиевых проводов минимальное сечение — 4 мм2; для медных — 2,5 мм2.
Расчетная длина провода зависит от схемы соединения трансформатора тока и расстояния l от трансформатора до приборов:
- при включении трансформаторов тока в неполную звезду;
- 21 — при включении всех приборов в одну фазу;
- l — при включении трансформаторов тока в полную звезду.
При этом длина l может быть принята ориентировочно для РУ 6—10 к В:
- при установке приборов в шкафах КРУ / = 4… 6 м;
- на щите управления /= 30…40 м;
- для РУ 35 кВ / = 45…60 м;
- для РУ ПО — 220 кВ/ = 65…80 м.
Если при принятом сечении провода вторичное сопротивление цепи трансформаторов тока окажется больше ZHOU для заданного класса точности, то необходимо определить требуемое сечение проводов с учетом допустимого сопротивления вторичной цепи:


Полученное сечение округляется до большего стандартного сечения контрольных кабелей: 2,5; 4; 6; 10 мм2.
Условия выбора трансформатора тока приведены в табл. 7.5. Дополнительно могут быть заданы: КТН = 1т.тн/УР21ном — кратность тока динамической стойкости трансформатора тока; КТ = /Т//|„ОМ — кратность тока термической стойкости; /i„OM — номинальный ток первичной обмотки трансформатора тока.


Классификация
Преобразователи, кроме описанных выше направлений функционирования, принято классифицировать по основным признакам, знание которых необходимо для их правильного выбора в различных силовых электроустановках.
Последовательные трансформаторы принято классифицировать по:
По роду установки
Класс измерительных токовых устройств делится на несколько вариантов общего или специального назначения:
- Переносные – трансформаторы специального назначения, применяемые для контрольных измерений или испытаний в мобильных электротехнических лабораториях;
- Накладные – устройства преобразования специального назначения, использующиеся на высоковольтных установках, наложением сверху проходных изоляторов цепей силового трансформатора сети;


- Встроенные – измерительные трансформаторы специального типа, применяемые внутри различных электрических аппаратов и машин для преобразования величин внутренней цепи оборудования;
- Внутренней установки – электротехнические устройства общего назначения применяемые на высоковольтных распределительных электросистемах, или силовых цепях низкого напряжение (400В);
- Наружной установки – приборы преобразования общего назначения, применяемые открытых распределительных сетях высокого напряжения (свыше 1000В).
Точное определение оборудования на участке цепи, к которым будут подключены последовательные преобразователи становится одним из важных критериев их выбора.


По способу установки
Видовые различия корпусов последовательных трансформаторов электрической сети разделяет их по классу монтажа на:
- Проходные – играют роль проходного изолятора сквозь определенное препятствие в системе электроустановки. Выводы первичных обмоток у них всегда расположен сверху, другой снизу;
- Опорные – конструктивно имеют расположение всех первичных выводов на одной стороне. Их установка производится всегда на ровную опорную поверхность.
Правильное определение типа монтажа измерительного прибора для преобразования тока не допустит ошибок дальнейшего проектирования новой энергетической системы или ремонте уже созданной установки.


По типу изоляции
Группы измерительных приборов преобразования имеют различия в составе материала изоляции своих обмоток и корпуса, делятся на несколько основных:
- Твердая – тип сухой изоляцией в виде фарфора, бакелита и подобных материалов;
- Вязкая – изоляция, полученная путем заливки различным компаундом.
- Смешанная – использование в виде изолирующего материала бумажно-масляных элементов;
- Газовая – изолирование первичной от вторичной обмотки проводится воздушным зазором.
Изоляционный материал оборудования выбирается от типа электроустановок, где они применяются. Он зависит и от величины номинального напряжения на участке установки приборов, климатических условий, где будет эксплуатироваться распределительное устройство и других факторов.


По количеству ступеней трансформации
Трансформаторы делятся на два основных типа в этом разрезе классификации:
- Одноступенчатые – такие устройства имеют одну первичную и одну вторичную обмотку в устройстве, один неизменяемый коэффициент трансформации;
- Многоступенчатые – электромагнитный аппараты каскадного вида, устройство которых содержит или возможность изменения числа витков первичной или вторичной обмотки, или содержит сразу несколько вторичных обмоток с дифферентом их числа витков. Эта конструкция позволяет иметь несколько коэффициентов трансформации в одном устройстве;
Первый класс трансформаторов наиболее распространен в применении энергетических установок общего назначения. Второй тип применяется в специализированных участках распределительных сетей по необходимости.


По количеству вторичных обмоток
Соответственно, исходя из количества ступеней трансформации приборы делятся на:
- С одной вторичной обмоткой;
- С двумя и более вторичными обмотками.
Основной вид трансформаторов в таком делении относит первые его вид к приборам общего назначения, второй к типу специального назначения.


По назначению
Основное назначение этого электромагнитного прибора – трансформация тока из одной величины в другую. Существует два основных направления, использования трансформаторов:
- Для измерений – передача измерительных параметров приборам, показания которых снимает персонал электроустановки с целью анализа работы энергетических установок высокого напряжения (>1000В). Первичная обмотка трансформатора тока включается в разрыв энергетической цепи, а к его вторичной обмотке подключается требуемый измерительный прибор, типа амперметра, обмоток ваттметров или счетчиков учета электроэнергии. Их монтаж производится в энергетических установках, где невозможно прямое подключение измерительной аппаратуры, обмоток электросчетчиков напрямую, но необходимо при этом их нормальное функционирование.
- Для защиты – передача измерительной информации устройствам защиты, или любым модулям управления энергетической системы, в состав которой они включены. Обеспечивает изолированную работу этих приборов в высоковольтных установках или силовых цепях с напряжением 400В. Изоляция реле и контрольных приборов от первичной цепи установки обеспечивает безопасную доступность к таким модулям обслуживающего персонала для их ремонта и эксплуатации.
Часто трансформаторы тока имеют смешанный функционал.
По классу напряжения
Важным критерием выбора устройств преобразования. Он включает в себя два основных класса:
- Для высоковольтных распределительных установок – 6/10/35 киловольт и выше – применения преобразователей в таких сетях имеют увеличенных габарит и некоторые конструктивные различия;
- Для низковольтных распределительных устройств – применение до 1000В – наиболее распространенный класс напряжения таких приборов равен 400В. В этом классе габариты трансформаторов зависят от номинальных токов первичных обмоток, а конструктивное исполнение обладает значительным многообразием в зависимости от типа монтажа и расположения участка их установки.
Неправильный подбор класс напряжения при выборе трансформаторов сделает их применение невозможным в проектируемой или работающей энергетической системы или ее участка.


По методу преобразования
В силу развития прогресса в электротехнике этот параметр теперь входит в основную классификацию приборов преобразования, состоит из типов:
- Электромагнитные – приборы преобразования, основанные на обмотках медной проволоки, с цельным стальным сердечником, наиболее распространенный экономически выгодный вид трансформаторов, широко используемый в различных распределительных сетях;
- Оптико-электронный – новый тип преобразования токовой величины, основанный на прогрессивно инновационном устройстве электромагнитных приборов, их изоляции, с применением новейших материалов. Выше по цене, но имеющий более точные выходные параметры.
Резюмируя перечисленную выше классификацию электромагнитного оборудования, вывод по их верному выбору на поверхности – только полное изучение всех перечисленных параметров устройств преобразования тока, сравнение их с параметрами энергосистемы, где они будут эксплуатироваться, не позволит сделать непростительных ошибок при их подборе, дальнейшей установки и качественному использованию.


Классификация трансформаторов тока
Трансформаторы подразделяются на классы по роду установки, в зависимости от места нахождения устройства:
- Установка ТТ в ОРУ.
- УстановкиТТ в ЗРУ.
- Для работы внутри оболочек устройстви внутри масляной или газовой среды,например, внутри высоковольтных масляных или элегазовых выключателей.
- Специальная установка.
По способу установки, зависящей то конструктивной особенности устройства:
- Опорные, для монтажа на ровной опорной поверхности;
- Проходные ТТ находятся на шинопроводах в комплексных распределительных устройствах, используются в качестве проходного изолятора;
- Шинные –особенность этого трансформатора заключается в том, что в роли первичной обмоткивыступает шина РУ,которая пропущена через окно трансформатора, устройство крепиться на шине специальными винтами на планке;
- Встроенные используются для установки в силовых трансформаторах, баковых выключателях или токопроводах;
- Разъемные, предназначены для быстрой установки на шинах или кабелях без отключения токовой цепи.
По типу изоляции:
- Литая изоляция;
- Исполнение в пластмассовом корпусе;
- Применение твердой изоляции, с использованием фарфора, бакелита, полимеров, эпоксидной смолы;
- Вязкая изоляция из заливочных обволакивающих компаундов;
- Маслонаполненные;
- Газонаполненные,применяемая для трансформаторов, установленных на высоких и сверхвысоких напряжениях.
- Смешанная изоляция, (бумажно-масляная), ресурс бумажной изоляции даже после 40 лет без эксплуатации может оставаться очень большим.
Недостаточная защита трансформатора может привести к конденсированнию влаги на его дне, влажность может достичь опасных значений, приводящих к электрическому или тепловому пробою.
В зависимости от количества ступеней трансформации:
- Одноступенчатые (один коэффициент трансформации)
- Многоступенчатые или каскадные (несколько коэффициентов трансформации)
По количеству вторичных обмоток:
- Наличие одной вторичной обмотки.
- Существование нескольких вторичных обмоток.
По функциональному назначению вторичной обмотки:
- Для измерения или учета.
- Для выполнения защитных функций.
- Для измерения и защиты.
- Для выполнения измерений в различных переходных режимах.
По количеству коэффициентов трансформации:
- Наличие одного коэффициента трансформации.
- Несколько коэффициентов трансформации, полученных после изменения числа витков в обмотках или при наличии нескольких вторичных обмоток.
Трансформаторы тока различаются по классу напряжения:
- До 1000 В.
- Выше 1000 В.
Методы преобразования:
- Электромагнитные.
- Оптико-электронные.
По типу изоляции обмоток:
- Твердая изоляция.
- Газовая изоляция
Таблица №1. Типы трансформаторов тока
Таблица №1. Типы трансформаторов тока
Таблица №1. Типы трансформаторов тока
Выбор ТТ для релейной защиты
Трансформаторы тока для цепей релейной защиты исполняются с классами точности 5Р и 10Р. Должно выполняться требование, что погрешность ТТ (токовая или полная) не должна превышать 10%. Для отдельных видов защит эти десять процентов должны обеспечиваться вплоть до максимальных токов короткого замыкания. В отдельных случаях погрешность может быть больше 10% и специальными мероприятиями необходимо обеспечить правильное срабатывание защит. Подробнее в ПУЭ вашего региона и справочниках. Эта тема имеет множество нюансов и уточнений. Требования ГОСТа приведены в таблице:


Хоть это и не самые высокие классы точности для нормальных режимов, но они и не должны быть такими, потому что РЗА работает в аварийных ситуациях, и задача релейки определить эту аварию (снижение напряжения, увеличение или уменьшение тока, частоты) и предотвратить — а для этого необходимо уметь измерить значение вне рабочего диапазона.
Класс точности трансформатора тока
При правильном выборе трансформатора тока нужно, прежде всего, руководствоваться сферой измерения где будет применяться трансформатор тока, если ТТ, например, будет применяться для АИИС КУЭ для снятия показаний коммерческого учета, то он должен иметь высокий класс точности.
Погрешности ТТ прежде всего зависимы от габаритов и конструктивных особенностей магнитопровода, а также от количества витков и сечения провода обмотки. На погрешность в показаниях большое влияние оказывает материал, из которого изготовлен магнитопровод.
При использовании в современных системах коммерческого учета нашли применение ТТ с магнитопроводом, выполненным из нанокристаллических (аморфных) сплавов, ТТ приобретает высокий класс точности измерения 0.5, 0,5S. 0.2S, при малом значении первичного тока.
Аморфные сплавы при повышении класса точности ТТ способствуют увеличению максимальной мощности обмоток, улучшают защиту измерительных приборов, подключенных в цепь с трансформатором, сводят к нулю эффект старения, что позволяет сохранить характеристики устройства. Так получают точные и качественные изделия,которые гарантируют стабильное функционирование систем АИИС КУЭ.
Высокий класс точности создает наиболее узкий диапазон трансформаторных погрешностей.
Различие между классами точности 0,5. 0,2и 0,5S, 0.2S заключается в погрешности обмотки класса 0,5 или 0,2ниже 5% от номинального тока. В таком значении тока,выявляется недоучет электроэнергии, сокращаемый при использовании трансформаторов с классом точности S.
Для различного вида технических измерений, возможно, подключение трансформаторов с классом точности – 1. Для применения в подключении указывающих амперметров разрешается применение ТТ с классом точности – 3.
Схемы включения
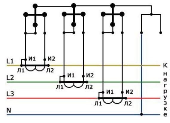
Для питания релейной аппаратуры, токовых обмоток учета электроэнергии общего или коммерческого назначения существует три основных схемы включения трансформаторов тока:
- «полная звезда»;
- «неполная звезда»;
- «треугольник».
Каждая из типов подключения для различного назначения оптимизирует работу измерительных, учетных систем электрооборудования, позволяет сделать оптимальными параметры учета электроэнергии в цепях новых или действующих распределительных устройств до и выше 1000 вольт.


Разобравшись, как выбрать трансформатор тока по способу установки, научимся производить расчет
С учетом параметров электрических счетчиков, и значения напряжения на линии, выбираем коэффициент трансформации. Он должен обеспечивать максимальную точность измерения трехфазного счетчика, при соблюдении мер безопасности.
Согласно требованиям ПУЭ (правил устройства электроустановок), необходимо оставлять запас коэффициента трансформации на превышение допустимой нагрузки. При максимальной нагрузке на линии, ток во вторичной обмотке не должен быть ниже 40 % от номинального тока счетчика. Соответственно при минимальной нагрузке этот показатель составит 5 %.
Существует целая подборка справочной литературы по этому вопросу, наиболее популярной является типовая таблица:


Зная расчетные параметры силовой линии и возможного потребления тока, можно рассчитать коэффициент трансформации.
Перед вводом в эксплуатацию, обычно производится испытательный монтаж на тестовую колодку. Моделируются рабочие условия эксплуатации объекта, при соблюдении мер безопасности испытываются аварийные режимы.


Важно: Подобные испытания следует проводить только под надзором инженеров по безопасности энергоснабжающей компании.
После проведения тестовых измерений на дублирующих счетчиках, проводится окончательный расчет коэффициента преобразования. Затем составляется акт переноса показаний на счетчики с учетом параметров трансформатора.
Если параметры работы устраивают потребителя и поставщика электроэнергии, производится окончательный монтаж трансформаторов и трехфазного счетчика. Типовая электросхема на иллюстрации:


Пример реального расчета коэффициента трансформации
Мы знаем, что для обеспечения завышенного коэффициента трансформации, необходимо обеспечить следующее условие:
- при загрузке силовой (основной) линии на 25 %, во вторичной обмотке сила тока не превысит 10 % от расчетной.
Условия задачи: расчетный ток в режиме нормальной загрузки оборудования составляет 240 А. Устанавливаем параметры аварийного режима: коэффициент 1.2. Значит, сила тока при перегрузке равна 288 А. Номинальная сила тока счетчика составляет 5 А.
Важно: Перегрузкой считается сила тока, при которой еще не срабатывает защитное устройство отключения электропитания.
По рекомендациям энергетиков, или в соответствии со справочными таблицами, выбираем трансформатор тока с коэффициентом трансформации 300/5.
- Проводим расчет тока первичной обмотки при нагрузке 25 % от номинала. I1=240×25/100. Полученный результат: 60 А.
- Проводим расчет тока вторичной обмотки при нагрузке 25 % от номинала. I2=60/(300/5). Полученный результат: 1 А.
Вторичный ток превышает 10 % от номинальной силы тока счетчика: 1 А > 0.5 А. При таких расчетах видно, что трансформатор тока для подключения конкретного счетчика подобран верно.
Как правильно выбрать ТТ для релейной защиты
Чтобы правильно выбрать трансформаторы тока для различных блоков релейной защиты и автоматики, стоит обратить внимание на несколько важных параметров их выбора:
- Максимальное и номинальное значение напряжения в первичной обмотке трансформатора;
- Номинальное значение тока в первичной обмотке;
- Класс точности.
Последний параметр – для различных видов трансформаторов имеет различные значения, а для блоков релейной защиты и автоматики имеет приоритетное значение в связи с тем, что от него зависит точность выходного сигнала, другими словами, качество питания всего блока защиты и автоматики. Для более точной работы систем защиты и автоматики в распределительных сетях применяется использование трансформаторов с повышенным классом точности – 10 (Р). Подробное рассмотрение такого понятия, как класс точности в статье публикуется ниже.
Видео по теме
Хорошая
Советы и рекомендации по выбору
Основная рекомендация по подбору трансформаторов тока состоит в тщательном и полном использовании всех параметров и критериев выбора преобразователей тока по классификации и номинальным значениям оборудования в равной степени без легкомысленного отношения к любому из них.
Выбор трансформаторов тока в зависимости от их назначения в обязательном порядке должен соответствовать всем нормативным документам и стандартам ГОСТ, действующим в текущий момент их выбора.
При использовании автоматизированных программ расчета номиналов последовательных трансформаторов, перепроверка полученных значений несколькими подобными сервисами не станет лишним для подтверждения правильности полученных данных.