Зачем нужен акт, его значение
Любой кабель, как средство, которое предназначено для обеспечения безопасности токопроводящих путей, перед тем, как поступить в продажу, проходит испытания на заводе изготовителе.
Здесь проверяется, насколько он отвечает технической документации, ГОСТу и прочим нормативам, и после этого на его ярлыке ставится штамп о прохождении специального контроля, который удостоверяет то, что данное кабельное изделие в полной мере соответствует действующим требованиям.
Однако, после доставки в строительную или монтажную компанию, непосредственно перед укладкой, кабель также должен пройти осмотр, в процессе которого проверяется
- герметичность его оболочки,
- отсутствие разрезов, обрывов и проч.,
- отсутствие сообщений между жилами,
- их связи с экраном или металлической оболочкой,
- соответствие сопротивления изоляции кабеля определенным требованиям и т.д.
По результатам этих контрольных действий специалистами предприятия создается отдельный акт.
Данный документ играет довольно большую роль при подготовке кабелей к прокладке. С его помощью удостоверяется тот факт, что кабели находятся в отличном состоянии, соответствуют всем существующим нормам и не имеют различного рода изъянов.
В строительных и монтажных компаниях, грамотно организовавших подготовительную работу с материалами, без этого документа кабель просто не будет допущен к прокладке. А в тех, где кабель такой проверке не подвергается, руководство рискует в случае визитов надзорных органов навлечь на себя административное наказание в виде достаточно крупного штрафа.
Типичные повреждения кабелей
Проверка повышенным напряжением позволяет выявить в высоковольтных линиях следующие распространенные типы дефектов:
- обрывы (в том числе отдельных жил) без заземления;
- обрывы одной либо нескольких жил с их заземлением;
- обрывы одной либо нескольких жил, с заземлением целых жил;
- короткое замыкание между жилами либо на землю, происходящее в результате старения изоляционного покрытия либо коррозии металлических оболочек;
- механические повреждения (наиболее частые для кабелей, пролегающих в грунте);
- утечка масла из маслонаполненных кабелей;
- другие виды повреждений, в том числе множественные нарушения целостности изоляции либо обрывы жил на всем протяжении кабеля.
Среди всех этих дефектов наибольшее распространение имеют однофазные повреждения — при них одна их токопроводных жил замыкается на экранирующую оболочку кабеля. В свою очередь, межфазные нарушения (при котором несколько жил оплавляются и свариваются вместе (а часто — и с экранирующей оболочкой) составляют не более 20% от всех повреждений.
Если рассматривать причины, по которым возникают подобные дефекты, то можно выделить следующие:
- ошибки проектирования (например — заниженная площадь сечения жил);
- заводской брак (неравномерная изоляция, заусенцы на токоведущих жилах и другие);
- механические повреждения при прокладке;
- нарушения при монтаже муфт;
- повреждения кабеля в ходе эксплуатации.
В любом случае, для того, чтобы избежать разрушения кабеля во время эксплуатации и вовремя выявить его повреждения, и проводятся испытания с применением повышенного напряжения.
Кто проводит осмотр кабеля
Осмотр кабеля проводят специалисты предприятия, у которых есть допуск до работы с кабельными линиями. Иными словами это должны быть лица, прошедшие специальное обучение, успешно сдавшие экзамены и получившие по результатам аттестации свидетельство на выполнение работ с кабельными сетями. При этом периодически мастера должны подтверждать свою квалификацию.
В обязанность этих же сотрудников организации входит составление по результатам осмотра кабеля акта, за содержание которого они несут полную ответственность.
К составлению данного документа стоит относиться очень внимательно, избегая неточностей и ошибок, а уж тем более внесения в документ заведомо неверной информации. Важно помнить о том, что в дальнейшем, если вдруг в процессе эксплуатации с кабелем что-то случится, вся ответственность за это может быть возложена на тех, кто производил его допуск до использования.
Требования безопасности
Одно из основополагающих правил при исследовании изоляции заключается в том, что приступать к работе, не удостоверившись в отсутствии напряжения на измеряемом участке, нельзя. Прибор, используемый для испытаний, должен быть поверенным или хотя бы быть сертифицированным.
Использовать необходимо лишь только тот мегомметр, выдаваемое напряжение которого соответствует установленным нормам. Так, для сетей или оборудования с напряжением до 50 В, используется тестер, выдающий 100 В. Применение прибора с меньшим значением не даст правдивости информации о состоянии участка, а большего — может привести к повреждениям.


Измерение сопротивления мегомметром необходимо выполнять только на отключенных токоведущих частях, с обязательным снятием остаточного заряда. При этом заземление с токопроводящих частей снимается лишь после подключения тестера. Соединительные провода подсоединяются с помощью изолирующих штанг. При работе прикасаться к токоведущим частям, даже в диэлектрических перчатках, запрещено.
Формат и оформление акта
Этот акт, как и любой другой подобный документ, сегодня можно писать в свободном виде – единого его стандарта нет. Но в тех компаниях, в которых разработан свой унифицированный образец, использовать следует именно его.
То же самое касается ответа на вопрос о том, можно ли писать акт от руки: допустим как рукописный, так и печатный вариант акта.
Подписи в документе должны ставить все лица, которые присутствовали при осмотре кабеля – таким образом, они удостоверят факт того, что все данные, внесенные в бланк достоверны.
В отношении печати все зависит от того, используется ли это штемпельное изделие в текущей деятельности фирмы – если условие о ее применении в такого рода бумагах есть, то акт следует проштамповать.
Акт, как правило, делается в одном оригинальном экземпляре, но если есть необходимость в дополнительных копиях, то документ можно размножить.
Готовый акт подлежит обязательной регистрации в специальном учетном журнале (куда достаточно внести его номер и дату изготовления).
Хранение акта должно производиться в соответствии с требованиями законодательства или внутренними нормативно-правовыми бумагами фирмы (но не менее пяти лет).
Условия испытаний
4.1. Испытания кабельных силовых линий до 10 кВ разрешается проводить только при положительных температурах. В холодный период (на морозе) возможно появление внутри изоляции (в кабельной структуре) наледи или льда. Такая ситуация не позволяет получать достоверные параметры, так как замерзшие частицы воды являются диэлектриком.
4.2. Перед началом испытаний проверьте влажность и наличие конденсата на жилах силовых кабелей. Присутствие частиц воды может спровоцировать пробой изоляции, что чревато выходом из строя не только испытуемых электроустановок или другой аппаратуры, но и испытательного оборудования.
4.3. Перед испытаниями кабельные воронки тщательно очистите от пыли, влаги и других загрязнений.
4.4. Атмосферное давление не влияет на текущие параметры СКЛ. При этом его величина должна фиксироваться в протоколе испытаний.
Образец акта осмотра кабеля на барабане перед прокладкой
Если вам понадобилось составить акт осмотра кабеля на барабане перед прокладкой, который вы ранее никогда не делали, посмотрите его образец, приведенный ниже, также ознакомьтесь и с разъяснениями к нему. Они помогут вам сделать нужный бланк с минимальными правками и без каких бы то ни было проблем.
- Первая часть документа без особенностей: напишите здесь название организации, затем присвойте акту номер (по мере необходимости), отметьте дату и место его составления.
- Дальнейшую информацию лучше всего сформировать в виде таблицы. Внесите в нее номер барабана, марку кабеля и его идентификационные параметры, длину кабельной линии, название завода-изготовителя.
- Включите сюда столбцы, в которые будут вписаны сведения о состоянии барабана и его обшивки, наружных витков, колпачков.
- Обозначьте в акте данные по итогам проверки сопротивления изоляции и дайте заключение проведенной процедуре.
- Под таблицей следует указать, при помощи каких приборов осуществлялось испытание кабеля.
- Также акт можно дополнить и другой информацией, которую вы считаете важной.
- В заключение поставьте под документом все необходимые подписи.


Испытание повышенным напряжением выпрямленного тока.
Силовые кабели напряжением выше 1 кВ испытываются повышенным напряжением выпрямленного тока.
Величины испытательных напряжений и длительность приложения нормированного испытательного напряжения приведены в таблице 5.
Таблица 5. Испытательные напряжения выпрямленного тока для силовых кабелей
| Тип кабеля | Испытательные напряжения, кВ; для кабелей на рабочее напряжение, кВ | Продолжительность испытания, мин | |||||||
| 2 | 3 | 6 | 10 | 10 | 35 | 110 | 220 | ||
| Бумажная | 12 | 18 | 36 | 60 | 100 | 175 | 300 | 450 | 10 |
| Резиновая марок ГТШ, КШЭ, КШВГ, КШВГЛ, КШБГД | — | 6 | 12 | — | — | — | — | — | 5 |
| Пластмассовая | — | 15 | — | — | — | — | — | — | 10 |
Методика проведения испытания повышенным напряжением выпрямленного тока, а также установки и оборудование для испытания представлены испытаниях изоляции электрооборудования повышенным напряжением.
При испытании напряжение должно плавно подниматься до испытательной величины и поддерживаться неизменным в течение всего периода испытания. Подъем испытательного напряжения для кабельных линий напряжением до 10 кВ осуществляется в течение 1 мин, а для кабельных линий 20-35 кВ — со скоростью не более 0,5 кВ/с.
В случае, если контроль над испытательным напряжением осуществляется по вольтметру, включенному на первичной стороне повышающего трансформатора, то в результаты измерения может вноситься некоторая погрешность за счет падения напря жения в элементах испытательной схемы, в частности, в кенотронах.
Измерение токов утечки кабеля 3-10 кВ при испытаниях повешенным выпрямленным напряжением производиться с помощью микроамперметров, включенных или на стороне высокого напряжения испытательной установки, или в нуль испытательного трансформатора. При применении последней схемы измерения токов утечки возможно искажение отсчета за счет паразитных токов утечки.
При испытаниях силовых кабельных линий повышенным выпрямленным напряжением оценка их состояния производится не только по абсолютному значению тока утечки, но и путем учета характера изменения тока утечки по времени, асимметрии токов утечки по фазам, характера сохранения и спада заряда и т.п. В эксплуатации принято, что кабельная линия может быть введена в работу, если токи утечки имеют стабильное значение, но не превосходят 300 мкА для линий с номинальным напряжением до 10 кВ. Для коротких кабельных линий (длиною до 100 м) без соединительных муфт допустимые токи утечки не должны превышать 2-3 мкА на 1кВ испытательного напряжения. Асимметрия токов утечки по фазам не должны превышать 8-10 при условии, что абсолютные значения токов не превышают допустимые.
Для исправной изоляции силового кабеля ток утечки спадает в зависимости от длительности приложения испытательного напряжения, и тем больше, чем лучше каче ство изоляции. У силового кабеля с дефектной изоляцией ток утечки увеличивается во времени. При заметном нарастании тока утечки при испытании силового кабеля про должительность испытания увеличивается до 10-20 мин. При дальнейшем нарастании утечки, если оно не вызвано дефектами концевых разделок, испытание должно вестись до пробоя изоляции кабеля.
При испытаниях напряжение от выпрямленной установки подводится к одной из жил испытуемого кабеля. Остальные жилы испытуемого кабеля, а также все жилы других параллельных кабелей данного присоединения должны быть надежно соединены между собой и заземлены. У трехжильных кабелей испытанию подвергается изоляция каждой жилы относительно оболочки и других заземленных жил. У однофазных кабелей и кабелей с отдельно освинцованными жилами испытывается изоляция жилы относительно металлической оболочки.
Кабель считается выдержавшим испытания, если не произошло пробоя, не было скользящих разрядов и толчков тока утечки или его нарастания, после того как он дос тиг установившейся величины.
После каждого испытания цепи кабельной линии ее необходимо разрядить по приведенной методике.
Проверка мегаомметра
Перед проверкой изоляции кабеля мегаомметром, необходимо испытать на работоспособность сам аппарат. Вот как это делается на мегаомметре М4100. Прибор имеет 2 шкалы: верхнюю для измерения в мегаомах и нижнюю для замеров в килоомах.
Для работы в мегаомах:
- ⚡подключаете концы провода щупов к двум левым клеммам. Щупы должны быть разомкнуты;
- ⚡вращаете ручку и смотрите показания стрелки. При исправности прибора она будет стремиться в левую сторону — к бесконечности;
- ⚡замыкаете щупы между собой. При вращении ручки стрелка должна отклониться вправо до нуля.
Для работы в килоомах:
- ⚡на 2 левые клеммы ставите между собой перемычку и один из концов подключаете туда. Второй конец подключается на правую крайнюю клемму. Щупы разомкнуты;
- ⚡Вращаете ручку и смотрите показания. При исправности прибора стрелка отклоняется максимально вправо;
- ⚡После замыкания щупов и вращении ручки, стрелка будет стремиться к нулю по нижней шкале (т.е. в левую сторону).
Для чего проверяют сопротивление изоляции кабеля?
Для чего вообще производят эти измерения? Ток у нас течет по проводнику, которым является медная или алюминиевая жила (или много жил). И между токопроводящей жилой и окружающей средой находится изоляция — пластмассовая, резиновая, ПВХ, бумажная, масляная.
Изоляция защищает жилу от соприкосновения с другой жилой, с окружающей средой, с человеком. Характеристикой качества изоляции, кроме прочих, является сопротивление изоляции. Эта характеристика измеряется в омах и их производных (кило, мега, гига).
Сопротивление — это величина обратная проводимости, то есть она показывает способность не пропускать электрический ток. Чем слабее изоляция, тем больше вероятность, что ток найдет путь и распространится из кабеля через токопроводящие поверхности и материалы. То есть произойдет пробой изоляции кабеля на поверхность какую-нибудь.
Изоляция может ухудшаться по следующим причинам:
- старение изоляции в течении времени
- увеличенная влажность
- механические повреждения
- воздействие агрессивной среды
Измерение распределения тока по одножильным кабелям
На силовом кабеле измеряются токи, протекающие как в жилах, так и в металлических оболочках и броне. Измерения производятся токоизмерительными клещами.
В зависимости от материала оболочки, брони и положения кабеля в пространстве токи в них могут достигать 100% по отношению к току жилы и сильно влиять на нагрев кабелей. Одновременно с измерением токов при нагрузках, близких к номинальной, должны быть проведены измерения температуры наружных покровов кабелей, по которой может быть вычислена температура жилы. Эта температура должна измеряться в самом нагретом месте КЛ и не должна превосходить допустимую для данного места измерения. При неравномерности распределения токов более 10%, когда отдельные кабели лимитируют пропускную способность всей группы кабелей, должны быть приняты меры по выравниванию токов по фазам.
Контроль над изоляцией
Периодичность проведения контрольных измерений состояния изоляционного покрытия устанавливается нормативными документами:
- раз в шесть месяцев — передвижные и переносные токоприемники;
- ежегодно — проводники и приемники наружной установки, а также при их прокладке в условиях повышенной опасности;
- каждые три года — все остальное электрооборудование.


Периодичность замеров для различных объектов
На промышленных и энергетических предприятиях установлена своя периодичность проверки, согласно утвержденным инструкциям.
Разновидности испытаний
Первое, что следует установить — это сопротивление изолирующей оболочки кабеля. Измерения в данном случае проводятся при помощи мегомметра при подаче тока напряжением 2.500 В. При этом, сопротивление должно составлять: для линий до 1.000 В — не менее 500 кОм, а для линий более 1.000 В — не менее 10 МОм.


Испытание кабеля повышенным напряжением
Следующий тест — это проверка подачей завышенного напряжения. При этом проводится измерение сопутствующих токов утечки, определяют их характер и фазовую асимметричность. Применение подобного метода позволяет выполнить проверку целостности и однородности кабеля заметно точнее, чем мегомметром (а для некоторых типов дефектов такая проверка является единственно возможной).
Перед ее началом выполняют заземление оболочки кабеля, а также всех его жил, кроме тестируемой. В зависимости от рабочего вольтажа линии и материала ее изоляции, величина повышенного напряжения, а также время его подачи для определения пробоя является различной (для правильного выбора подаваемого напряжения и времени можно воспользоваться таблицей).
Также следует помнить, что если тестируемый кабель расположен параллельно с другим, то следует выполнить его фазировку. Для этого на один из концов кабеля подают рабочее напряжение, а на другом выполняют его замер.
Следующий вид проверок — это контроль маслонаполненных линий. При нем осуществляется ряд замеров жидкости: на соответствие рабочим характеристикам и на отсутствие нерастворимых газов (количество последних не должно быть более 0,1%), а для линий выше 110 кВ — и растворимых.


Проверка изоляции кабеля
Проверка высоковольтной линии на целостность может осуществляться и при помощи омметра. Для этого определяют одну из жил (заведомо целую) и ведут дальнейшие замеры относительно нее (при этом определяют сопротивление цепей остальных замкнутых жил).
Также, выполняют промер распределения силы тока в жилах. При этом величина неравномерности при исправном кабеле но должна превышать 10%.


Методика проверки кабелей
На кабельных линиях с рабочим напряжением от 20 кВ проводят определение значения электроемкости. Выполняется это либо с помощью использования мостовой схемы либо при помощи вольтамперметра.


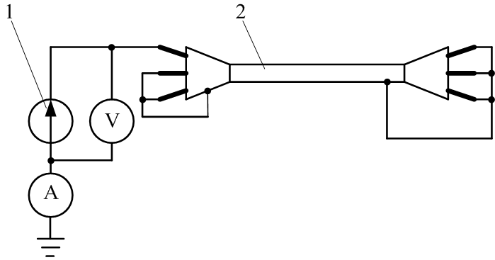
Метод амперметра-вольтметра
Высоковольтные кабели в пластиковой изоляции тестируют подачей завышенного выпрямленного напряжения в течение 1 минуты.
Оболочки кабелей в металлической броне проверяют на наличие очагов коррозии.
Также, периодически выполняется контроль соединительных муфт, заделок, конструкций кабельных колодцев и других технических элементов.